◤公众号对话框回复楼盘名称,查楼盘、加买房群◢
继南通中心奥特莱斯之后
再迎重磅利好!
就在昨天
苏锡通园区突然挂牌1宗商业、娱乐康体用地
地块占地面积超15万方
将建设探索湾水公园项目
3年内开业
将与奥特莱斯一起构筑南通文旅高地

01.
再迎重磅利好
苏锡通探索湾水乐园地块挂牌
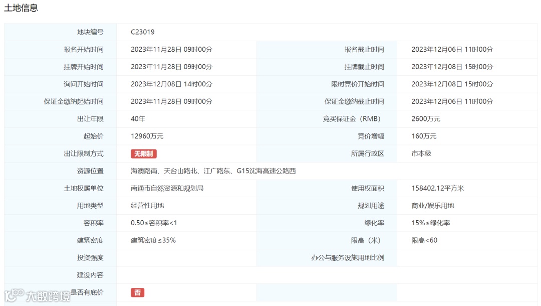
本次挂牌的C23019地块位于苏锡通园区海澳路南、天台山路北、江广路东、G15沈海高速公路西,占地面积158402.12㎡,起拍价1.296亿元,竞买保证金2600万元。

根据投资发展协议要求,竞得地块内投资建设探索湾水公园项目。
乙方须在约定交地后12个月内开工建设 (项目全部办结施工许可证,并桩基开工),约定交地后30个月内竣工验收 (以领取项目最后一期建设工程规划核实和土地核验合格证为准),约定交地后36个月内对外开业运营。

根据地块出让特别规定显示,地块内全部商业(含酒店)、娱乐康体建筑,自持年限为20年。

02.
地块四至与此前公示的
《南通苏通长江生态文化园(一期)项目》一致
今年7月份,苏锡通科技产业园区行政审批局曾发布《南通苏通长江生态文化园(一期)项目》环评公示,宗地范围与本次挂牌的探索湾水公园地块一致。

根据环评文件显示,整个南通苏通长江生态文化园(一期)充分结合本地气候和地域特点,汇集了国内一线水上游乐设施,营造贴近南通本地气候和地域特色的场景,室内外相结合,让游客在水中体验全方位的欢乐互动,打造全年龄段,全季游玩的“家庭亲水乐园”。

本项目基地内主要游乐设施形态分为室内、室外游乐区域两大类,其中室内管建设用地预 估约 3.6 公顷,室外区域占地约 9.4 公顷。项目主要包括 1 幢11层高层乐园酒店、1幢2层室内水乐园场馆,1幢3层后勤楼,1幢2层入口游客接待(地下一层为车库),2幢2层特色餐厅及卫生间,1个游客潜艇通道,1 个用户变电站,3 个小吃亭,1 个 2 层的开闭所及变电站,15个度假小屋以及 1 个地下车库;室内外有多个钢结构游乐设备和混凝土结构的漂流河、造浪池,并在地面或地下设置对应的设备机房;还有两个构筑物为皮筏领取点及水吧亭。
项目主要包括入口游客接待中心、各类水上游艺设备、餐厅、工作人员休息、办公等后勤 运营用房、卫生间、设备用房等各种建筑;同时结合水乐园设置有游客酒店,并开创性的用 ETFE 充气膜技术,将神秘花园与传奇生灵两大主题游乐场包裹起来,形成全天候的室内体验游乐空间。

入口游客接待中心:接待中心为地上 2 层、地下 1 层。地上 2 层为游客接待服务和设备、 办公等,地下 1 层为地下汽车库。作为乐园游客的主要出入口,接待中心成 V 字形状设计,从 2 层衔接南侧室外停车场,引入人流后经过狼山湾大道分散入园游览。
酒店:酒店为地下 1 层、地上 11 层酒店建筑。其中 1 至 2 层为酒店公共区域及服务设施, 3-11 层为酒店客房区;地下 1 层为酒店后勤办公及设备区域。公共区域在 2 层与室内水乐园入 口衔接,打造出旅游休憩、游乐、餐饮体验一体化的综合休闲空间。 室内水乐园场馆(ETFE 充气膜天棚);ETFE 膜结构为近年国际上先进的大跨度空间覆盖技 术,诸如英国康沃尔郡伊甸园植物园、北京奥运会水立方等国内外大型公共建筑,都有采用 ETFE 充气膜打造大跨度公共空间的案例。本案中采用 ETFE 膜技术,并结合大跨度圆拱结构,在酒店与水乐园梦幻庭园区之间架起一层温、湿度可控,全季达到怡人环境的半室外游乐空间,带 来全新的游乐空间体验。
水上游艺设备:游艺设备为厂家提供,以钢结构为主,玻璃钢滑道,游艺设备等候区采用 蛇 S 形方式,设置简约遮阳挡雨设施。
餐厅:设置在园内游乐区域,分散布置。餐厅为混凝土框架结构,并结合 TCP、钢构等材 料打造的装饰性主题外包装和屋顶。餐厅就餐区多为开敞设计,良好的自然通风及自然采光。 建筑面积约为 500~1000㎡ ,厨房区域约 150~300㎡左右。
后勤运营用房:约 3~4 个,分别结合主入口游客服务设施、人豚互动馆等设施分处设置。
餐厅、员工休息室、设备房等混凝土框架房间建筑外表面再设置游乐主题的外包装结构, 外包装主要采用二次钢构+不燃材料表皮(TCP 水泥植塑等)的形式,在建筑外立面的最终呈现上体现出热带林的主题风格。 建筑单体均设置直对外的疏散门,建筑立面结合雨林主题造型造型设置可开启窗户以保证 建筑内的自然采光和自然通风。






根据2020年当时发布的规划,航母公园一期包括狼山探索湾、航母爱国教育基地,二期包括主题乐园、配套酒店、马戏剧院、商业街区,三期为预留文旅项目。

03.
与南通中心奥特莱斯共组商业文旅旗舰
目前已经开工
在探索湾水公园地块挂牌之前,南通中心奥特莱斯地块已经顺利成交并开工。
10月22日,南通中心枫叶小镇奥特莱斯项目在南通苏锡通园区举行开工仪式。该项目总投资10亿元,将打造一处以社交导向为主,集文化、艺术、休闲、娱乐、商业于一体的空间,预计将于2024年国庆期间正式开业,开业后入驻品牌超300个。

南通中心枫叶小镇奥特莱斯项目位于苏锡通园区,总投资10亿元,占地面积200亩,规划总建筑面积12万平方米,地上9万平方米,地下3万平方米,将打造集名品时尚购物、文化旅游、儿童娱乐、休闲轻餐饮、南通名品馆及相关配套于一体的商业综合体。
根据“四大商圈、两大集群”建设方案,我市将在苏锡通园区打造南通中心休闲旅游商圈,以航母主题公园、奥特莱斯、南通名品馆等为载体,打造了解南通品牌、品味南通特色、采购南通产品的休闲购物胜地和可以体验、可以打卡、可以消费的名品潮流生活地。

————————
南通中心奥特莱斯、探索湾水公园两大项目建成后,苏锡通园区将有望成为长三角地区乃至全国拥有知名度的文化旅游和休闲购物新地标,值得期待!
对于这个项目你怎么看?欢迎评论区留言讨论。
-END-
公众号对话框回复楼盘名称,
一键查楼盘详情、加买房群

免责申明:1/本文来源南通楼市网,仅供参考和交流,不构成直接投资建议;2/任何投资行为均有不同程度风险性,投资需理性;3/添加微信nt36522,观察君拉你进买房交流群。


