🚨看房买房的全能小程序,了解项目、查询房价一键搞定!
就在刚刚,南通市自然资源和规划局发布了《南通市崇川区C24029地块项目规划方案批前公示》,新东区核芯位置再添全新滨水商业地标。
根据规划显示,地址用地面积28440.97m²,总建筑面积61210m²。其中,酒店建筑面积5000m²,商业建筑面积29943㎡,宴会厅建筑面积1245㎡,文化活动中心6000㎡。
地块内包含1栋3层的文化活动中心、2栋12层商业、1栋13层商业(其中,首层—四层为商业和酒店大堂,五—十层为酒店客房及配套,十一层为商业,十二—十三层为文化活动中心),此外还包含大体量的2层滨水商业街区。
根据规划来看,整个建筑非常具有设计感,内部含有大面积的中央水景,同时与北侧景观河道相邻,市区版“南山湖水街”的风格明显。
值得一提的是,与该商业紧邻的城镇铂域澜湾也规划建设有大体量的商业,包含星级商业酒店、滨水商业街。
届时,该区域将会联动成为整个新东区板块的商业中心。
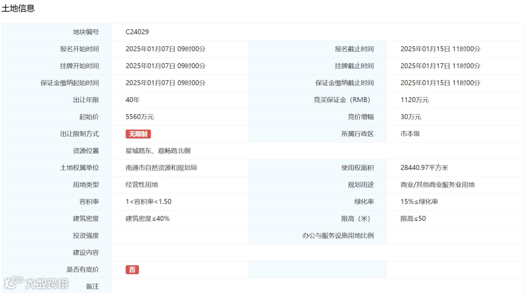
2025年1月17日,江苏高界置业发展有限公司竞得观音山时代悦城北侧C24029商业地块,竞得人须建设6000平方米文化活动中心,包含一座中国传统文化博物馆及一个多功能活动场馆。
根据投资监管协议,乙方须在本地块内同期建设6000平方米文化活动心中心,包含一座中国传统文化博物馆及一个多功能活动场馆,以满足该商圈及附近区域内的文化活动需求。其中,多功能活动场馆建筑面积不少于1000平方米,净高不低于8米。
此外,为保证项目运营品质,乙方须在签订《成交确认书》后63个月内,在本项目范围内招引4家企业,分别符合以下要求:
(1)招引1家酒店,达到限额以上住宿业企业要求,以企业营业执照和区统计局出具的限额以上企业认定材料为准。
(2)招引1家旅游服务企业,负责街区整体打造,以企业营业执照和与崇川经济开发区签订的街区打造合作协议为准。
(3)招引1家演艺公司,在公司落地后1年内完成小剧场演出不少于10次,之后连续 10 年每年完成小剧场演出不少于5次,以企业营业执照和区文旅局出具的演出备案材料为准。
(4)招引1家文化艺术公司,打造文化艺术长廊,在公司落地后1年内举办文化艺术展览及活动不少于10次,之后连续10年每年举办文化艺术展览及活动不少于5次,以企业营业执照和区文旅局出具的展览活动备案材料为准。
该地块位于观音山板块核芯位置,邻近南通地铁2号线、南通汽车东站和城市主干道青年路、世伦路,交通便利。商业方面,崇川大有境、圆融商圈均距离不远,生活便利性较高。
🔘3宗地块于去年被成功拍出,分别为天启置业R24014住宅地块、天扬置业五水置业R24025地块和高界置业C24029商业地块。
🔘今年5月初,崇川区房征中心发布了《洪济大楼成套住宅及周边民居房屋搬迁服务机构、评估机构公开招投标公告》。6月中旬,崇川经济开发区洪济大楼成套住宅及周边居民项目选房摇号程序正式结束。
🔘2025年6月14日,南通市政府官网发布了《市政府办公室关于印发南通市城市更新三年行动方案(2025—2027年)的通知》,其中也提及了观音山老集镇等重点城市更新单元的规划编制。
🔘6月16日,崇川区政府官网发布了《拟征收土地公告(崇地拟告〔2025〕35号)》、《拟征收土地公告(崇地拟告〔2025〕36号)》两则公告,涉及一所新学校和一所新幼儿园。
🔘2025年6月底,崇川区自然资源和规划发布了《关于崇川区2025-03号土地征收成片开发方案征求公众意见》。本次拟申报2025-03号崇川区土地征收成片开发方案含1个片区,总面积13.2657公顷,拟征收集体土地13.2317 公顷。
根据规划,该处将打造集公园绿地、体育文化商业混合用地、商住混合用地于一体的综合片区,其中规划了大面积的“体育文化商业混合用地”,预示着观音山将再添一处集运动、休闲、购物于一体的滨水活力空间!
目前,观音山板块内有中铁逸都、城镇铂域澜湾、中海观山樾、绿城桂语朝阳等多个新房在售,且多为准现房或者现房,竞争较为激烈。
中铁逸都目前已经全线交付,目前仅剩余少量现房在售。
中海观山樾,由8栋洋房和12栋小高层组成,总户数约964余户,容积率约1.8。公建化外立面,配置会所,打造建面约115-165㎡户型,精装均价1.6-2万/㎡。该项目一期已经交付。
绿城桂语朝阳打造21栋11-18F低密住宅,共869户,建面约108-193㎡,精装均价1.6-2万/㎡。目前项目一期也已经交付,现房在售中。
城镇铂域澜湾项目打造以小高层为主、集五星酒店、网红商街与一体的滨水宜居住区,规划建筑面积约23万方,目前住宅部分在售户型建筑面积约102-143㎡。

如果你有买房需求,想了解项目详细信息和团购优惠,可以扫码联系工作人员(nt36511)私聊。如果不着急买房也可以加入我们的房产交流群,持续学习。

⬇️左下角点击关注公众号,对话框内回复楼盘名称,一键加买房群。
免责申明:1/本文来源南通楼市网,仅供参考。如因阅读文章,对您购房行为产生损失,平台不承担相关责任;如果您继续阅读文章,则视为已知晓认可该声明。2/添加微信nt36511,拉你进买房交流群。