日前,南通主城突击挂地,一口气就是6宗,全部都是稀贵好地!本次挂地涉及市北新城板块、任港湾板块、新东区板块、开发区能达板块,值得关注!
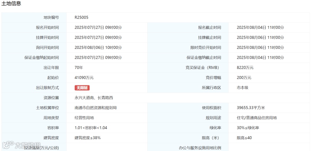
●R25005地块位于永兴大道南、长青路西,地块容积率1.01<R<1.04,起拍总价4.109亿,起拍总价4.109亿,折后楼面价9973元/㎡;
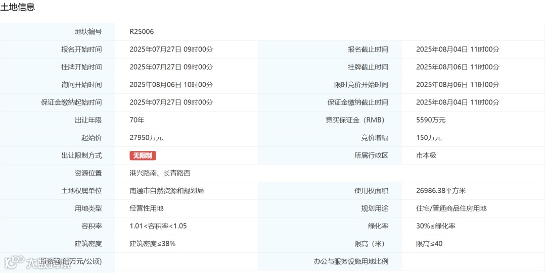
●R25006地块位于港兴路南、长青路西,地块容积率1.01<R<1.05,起拍总价2.795亿,起拍总价2.795亿,折后楼面价9911元/㎡;
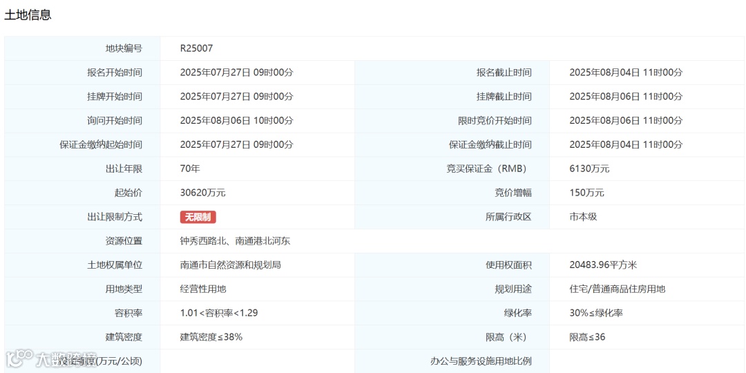
●R25007地块位于钟秀西路北、南通港北河东,地块容积率1.01<R<1.29,起拍总价3.062亿,起拍总价3.062亿,折后楼面价11598元/㎡;
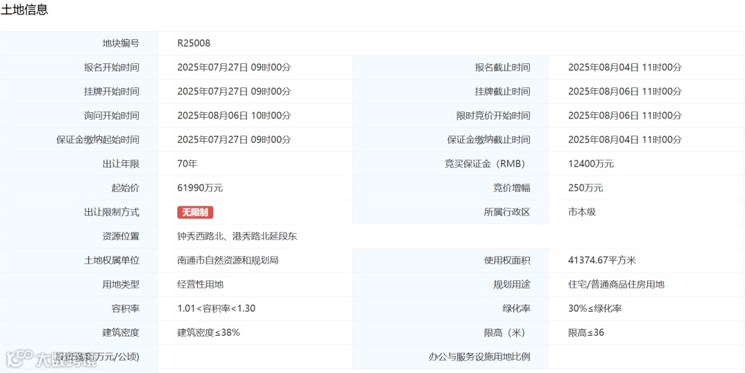
●R25008地块位于钟秀西路北、港秀路北延段东,地块容积率1.01<R<1.3,起拍总价6.199亿,起拍总价6.199亿,折后楼面价11587元/㎡;
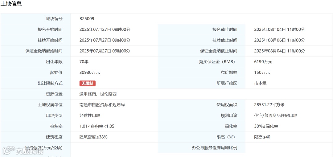
●R25009地块位于通甲路南、世伦路西,也就是观山樾小区西侧地块,地块容积率1.01<R<1.05,起拍总价3.093亿,折后楼面价10379元/㎡;
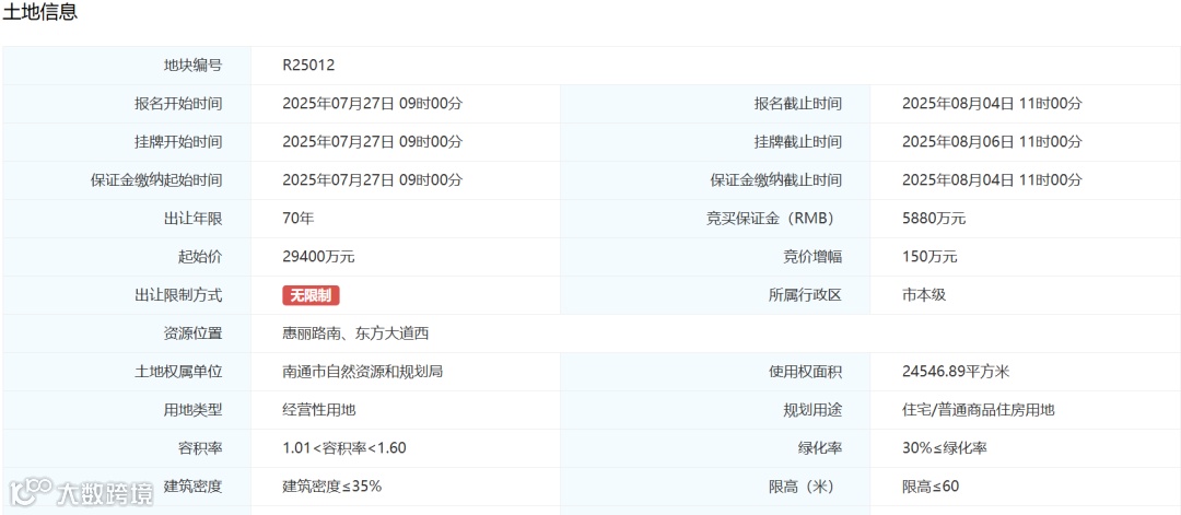
●R25012地块位于惠丽路南、东方大道西,也就是炜赋龙腾华府小区北侧地块,地块容积率1.01<R<1.6,起拍总价2.94亿,折后楼面价7500元/㎡;
值得一提的是,这些地块将于8月6日上午10点开始竞价出让,我们也将持续关注!
市北新城R25005&R25006地块
☑️25005地块位于市北新城板块永兴大道南、长青路西,占地面积为39655.33㎡,容积率1.01-1.04,限高40米。
根据出让公告显示,地块竞买实行价高者得的竞买模式,起拍总价4.109亿元,起拍楼面价9973.3元/㎡,不限房价;
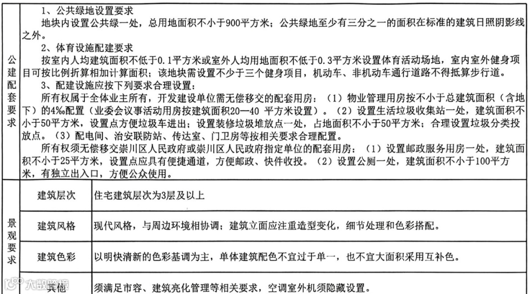
根据规划条件,地块内住宅建筑层次为3层为主,需要配套建设物业管理用房、邮政服务用房等配套用房。
根据出让公告显示,地块竞买实行价高者得的竞买模式,起拍总价2.795亿元,起拍楼面价9911.3元/㎡,不限房价;
根据规划条件,地块内住宅建筑层次为3层为主,需要配套建设物业管理用房、邮政服务用房等配套用房。
以上两宗地块为相邻地块,均位于南通市北新城板块内、紧邻君兰天悦小区,西侧就是通扬运河,生态优势明显。
配套方面,圆融玺悦商业综合体咫尺即达,南通启秀市北小学、南通第二中学等教育配套环伺,南通地铁1号线在周边穿行而过,具备一定的生活便利性。
任港湾R25007&R25008地块
根据出让公告显示,地块竞买实行价高者得的竞买模式,起拍总价3.062亿元,起拍楼面价11598.5元/㎡,不限房价;
根据规划条件,地块内住宅建筑层次为3层为主,需要配套建设物业管理用房、邮政服务用房等配套用房。
根据出让公告显示,地块竞买实行价高者得的竞买模式,起拍总价6.199亿元,起拍楼面价11586.9元/㎡,不限房价;
根据规划条件,地块内住宅建筑层次为3层为主,需要配套建设物业管理用房、邮政服务用房等配套用房。
以上两宗地块为相邻地块,均位于任港湾板块内、北侧就是通吕运河,是时下正受欢迎的运河景观房。
新东区R25008地块
根据出让公告显示,地块竞买实行价高者得的竞买模式,起拍总价3.093亿元,起拍楼面价10379.2元/㎡,不限房价;
根据规划条件,地块内住宅建筑层次为3层为主,需要配套建设物业管理用房、邮政服务用房等配套用房。
地块位于新东区核芯位置,东侧就是观山樾小区,西侧规划有中学,南侧规划有幼儿园,配套丰富。此外,周边的R24014住宅地块、R24025地块、C24029商业地块,均于去年被成功拍出。
能达板块R25012地块
根据出让公告显示,地块竞买实行价高者得的竞买模式,起拍总价2.94亿元,起拍楼面价7500元/㎡,不限房价;
根据规划条件,地块内住宅建筑层次为3层为主,需要配套建设物业管理用房、治安联防站、邮政服务用房等配套用房。
地块位于开发区能达板块核芯位置,北侧是绿地新里城小区,南侧紧邻炜赋龙腾华府小区,周边人口稠密。
你对于这几宗地块怎么看?欢迎评论区留言讨论。

如果你有买房需求,想了解项目详细信息和团购优惠,可以扫码联系工作人员(nt36511)私聊。如果不着急买房也可以加入我们的房产交流群,持续学习。

⬇️左下角点击关注公众号,对话框内回复楼盘名称,一键加买房群。
免责申明:1/本文来源南通楼市网,仅供参考。如因阅读文章,对您购房行为产生损失,平台不承担相关责任;如果您继续阅读文章,则视为已知晓认可该声明。2/添加微信nt36511,拉你进买房交流群。

