◤公众号对话框回复楼盘名称,查楼盘、加买房群◢

猝不及防!南通主城已建成的商业地块,突然部分上架土拍,备受关注!

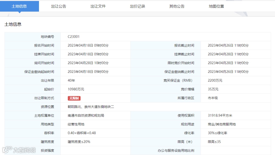
这宗地块位于创新区核芯位置的紫琅新天地商业街区内,地块占地面积达到了31918.94㎡,起拍价1.098亿元,此前有消息称紫琅新天地将于5月份对外开放。

01.
创新区重量级商业地块上新
竞得者须同时购买保留资产
日前,创新区朝阳路北、 崇州大道东侧的C23001地块上架土拍,将于2023年4月28日出让的消息,引起了不少市民的关注。毕竟在不少人的印象中,该地块就是已经建设完成的紫琅新天地商业街区所在地。

根据土拍公告显示,竞得土地者必须同时向通创办购买保留资产,土地竞价不涉及保留资产价格。

根据投资监管协议显示,为丰富商业业态,集聚人气,提高城市品质,根据创新区控制性详细规划,甲方将朝阳路北、崇州大道东侧地块二内已建成商业及配套项目出让给乙方,由乙方负责开发建设。
朝阳路北、崇州大道东侧地块二用地面积约3.19万平方米用地性质为商业用地,地块内有6幢房屋[建(构)筑物总面积约23677平方米(地上15172平方米,地下8505平方米,以实测为准),价值6275.5924万元]。
乙方须在约定交地后12个月内,开业运营本地块内不少于80%的地上商业建筑。

根据附件中的行政处罚决定书显示,该地块上架土拍的原因逐渐清晰:
南通市城市管理局综合行政执法局对朝阳路北、崇州大道东紫琅新天地项目地块二、地块三(5-10号楼)进行的未取得建筑工程规划许可进行建设的行为予以立案并开展了执法调查,并且已经查明存在。

对此,有关部门做出了没收紫琅新天地项目 5-10 号楼及罚款的行政处罚。

02.
预计5月开业
紫琅新天地即将正式揭面
紫琅新天地,是南通创新区首个滨水商业街区,预计将于5月份正式对外营业。

你对于紫琅新天地这个商业街区怎么看?欢迎评论区留言讨论。
-END-
公众号对话框回复楼盘名称,
一键查楼盘详情、加买房群

免责申明:1/本文来源南通楼市网,仅供参考和交流,不构成直接投资建议;2/任何投资行为均有不同程度风险性,投资需理性;3/添加微信nt36522,观察君拉你进买房交流群。

