◤公众号对话框回复楼盘名称,查楼盘、加买房群◢
就在刚刚
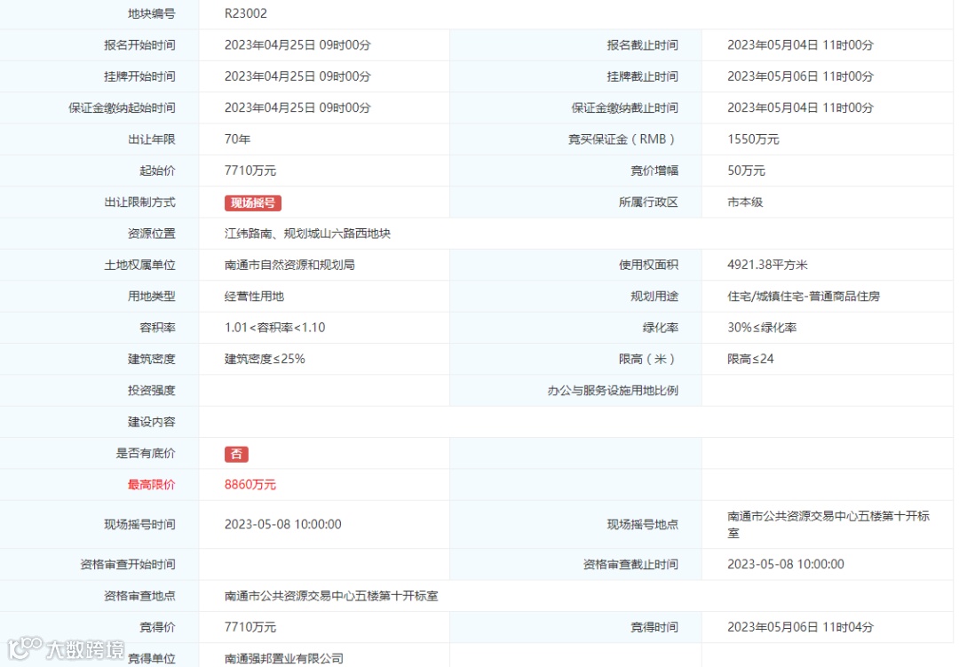
2023年南通市区首宗住宅用地顺利成交
南通强邦置业有限公司
以总价7710万元拿下
江纬路南、规划城山六路西R23002地块
成交楼面价14242元/㎡
未来不限房价
预计将打造低密洋房或别墅小区

根据竞买规则,竞买人、竞买人控制的子公司、控制竞买人的母公司或竞买人母公司控制的其他子公司、或竞买人母公司控制的其他子公司控制的子公司等关联公司不得同时参与本地块的竞买。

根据规划条件,地块内住宅楼层应为4-6层,结合容积率1.01-1.1的要求来看,地块将打造主城又一超低密度纯洋房/叠墅产品的改善住宅产品。

同时,地块内还将配建物业管理用房、生活垃圾收集站、装修垃圾堆放点、配电间及邮政服务用房等公建配套。

整体上来看,该地块处于位于城南板块内,距离南大街商圈、中南商圈、圆融商圈都距离不远,堪称“出则繁华、入则宁静”。
此外通师一附朝晖校区、易家桥中学、田家炳中学高中部、苏果超市等遍布周边,配套较为齐全。

地块所处的城山路沿线板块为南通传统的富人区,苏建名都城、城山隐、金茂府、锦安花园、春晖花园、天安花园等小区均是当时的天花板,目前周边二手房挂牌价在2-3万/㎡之间。

地块北侧同样是超低密度的城山隐小区更是具有参考意义,目前整个小区挂牌价高达51868元/㎡,洋房单价则在3万/㎡左右。

土拍方面,板块内少有住宅用地出让,且都价格不菲:
●2014年8月11日,南通帝冠贸易有限公司以总价2.73亿将R14031地块(城山隐)收入囊中,楼面价为7890元/㎡;
●2014年8月11日,苏建地产经过169轮竞价拿下段家坝路北,城山路西侧R14031纯住宅地块(苏建名都城),折合楼面价8000元/㎡;
●2021年7月9日,金茂地产总价11.89亿元拿下城山路沿线的R18017地块(崇川金茂府),折合楼面价19435元/㎡,溢价率62%。

本次挂牌距离上次同区域内的挂地已经近2年,周边地缘改善客群可选择性不多,该地块的入市将积极补仓区域局部的新房市场。
对于R23002地块,你怎么看?欢迎在评论区留下你的看法
-END-
公众号对话框回复楼盘名称,
一键查楼盘详情、加买房群

免责申明:1/本文来源南通楼市网,仅供参考和交流,不构成直接投资建议;2/任何投资行为均有不同程度风险性,投资需理性;3/添加微信nt36522,观察君拉你进买房交流群。


