◤公众号对话框回复楼盘名称,查楼盘、加买房群◢
好的地块依旧受追捧!
就在今天,
备受关注的南通土拍结果出炉!
市区3宗宝藏地块中,
1宗流拍,1宗底价成交,
另1宗直接热至登顶
堪称冰火两重天
●R23003地块本次流拍,该地块位于跃龙南路西、崇川路南、桃园路北侧,地块容积率1.4<R<1.58,起拍楼面价13346.3元/㎡,最高楼面价限价15347.7元/㎡,未来不限房价;
●R23004地块由南通崇发置业有限公司底价摘得,该地块位于永康路东、城闸路南侧,地块容积率1.2<R<1.31,起拍楼面价7999.7元/㎡,最高楼面价限价9199.4元/㎡,未来不限房价;
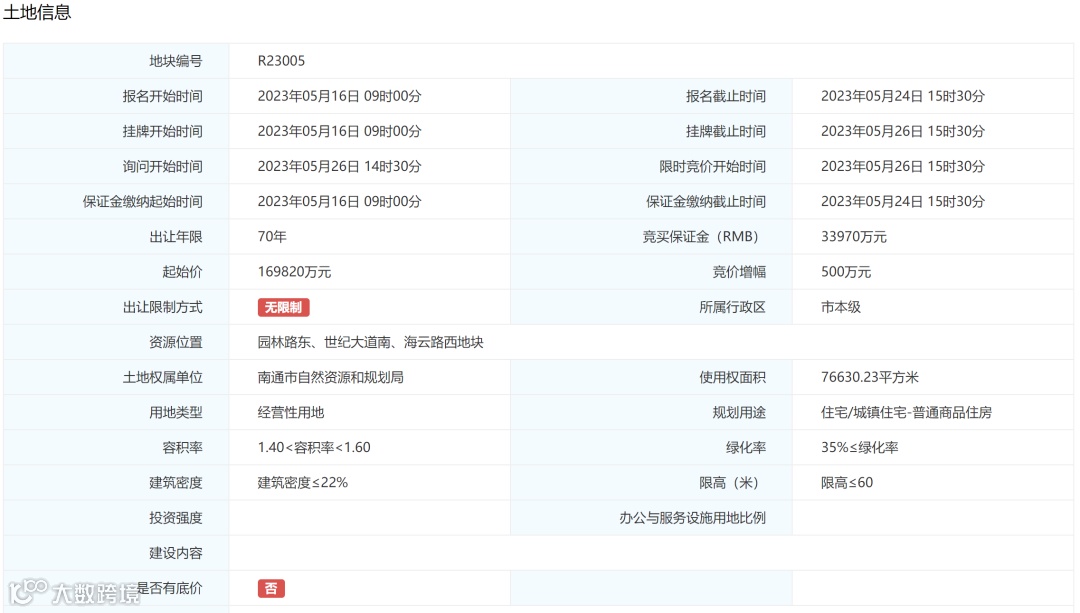
●R23005地块本次在激烈竞争52轮后,直接触顶摇号,将于5月29号摇号。该地块位于园林路东、世纪大道南、海云路西侧,地块容积率1.4<R<1.6,起拍楼面价13850.6元/㎡,最高楼面价限价15928元/㎡,未来不限房价。

本次挂牌的R23003地块位于新城区跃龙南路西、崇川路南、桃园路北侧,占地面积为67704.87㎡,容积率1.4-1.58,本次未能顺利成交。

根据出让公告显示,地块竞买实行限地价不限房价的竞买模式,起拍总价14.277亿元,起拍楼面价13346.3元/㎡,最高楼面价限价15347.7元/㎡,不限房价;

根据规划条件,地块内住宅建筑层次为6-11层,临长江路高架设置9-11层住宅,外立面公建化处理。
此外,地块内需要配套建设物业管理用房、生活垃圾收集站、邮政服务用房、卫生服务站、文化活动站、体育活动站、居家养老服务站、婴幼儿照护服务站、社区服务站等配套用房

该地块位于新城区板块内,西侧就是滨江国际街区,周边长江、滨江公园、滨江花海等景区,自然条件堪称一绝。
此外,地块紧靠长江高架、崇川路、啬园路、跃龙路等成熟主干道,中南商圈、三鲜街等商业配套,生活配套相当齐全。

值得一提的是,周边北侧规划建设有通师一附滨江校区、启秀中学滨江校区两所学校,教育资源条件也相当过硬。
R23004地块位于唐闸板块永康路东、城闸路南侧,占地面积为69105.34㎡,容积率1.2-1.31,本次被南通崇发置业有限公司底价拿下。

根据出让公告显示,地块竞买实行限地价不限房价的竞买模式,起拍总价7.242亿元,起拍楼面价7999.7元/㎡,最高楼面价限价9199.4元/㎡,不限房价;

根据规划条件,地块内住宅建筑层次为3-11层,临永兴河和通扬运河住宅建筑为3-6层。
此外,地块内需要配套建设物业管理用房、生活垃圾收集站、邮政服务用房、居家养老服务站、婴幼儿照护服务站等配套用房。

该地块位于唐闸板块内,紧邻通吕运河,距离南通地铁1号线十里坊站也不远,未来出行较为方便。
此外,南通第二人民医院、五水商圈、唐闸古镇等商业医疗配套均距离不远,未来生活便利性也可以得到保障。

R23005地块位于园林路东、世纪大道南、海云路西侧,地理位置得天独厚。该地块占地面积为76630.23㎡,容积率1.4-1.6,在激烈竞争52轮后,触发限价,5.29号摇号。

根据出让公告显示,地块竞买实行限地价不限房价的竞买模式,起拍总价16.982亿元,起拍楼面价13850.6元/㎡,最高楼面价限价15928元/㎡,不限房价。

根据规划条件,地块内住宅建筑层次为6-17层。
此外,地块内需要配套建设物业管理用房、生活垃圾收集站、邮政服务用房、居家养老服务站、婴幼儿照护服务站、社区服务站等配套用房。

值得一提的是,规划要求地块内西临园林路设置9-17层住宅建筑,北侧临世纪大道设置15-17层住宅建筑,地块内住宅建筑外立面全部公建化处理,外墙材质宜采用石材、金属、玻璃幕墙等材料。

该地块位于新城区板块核芯区域,周边遍布有妇幼保健院、南通大学、南通市行政中心凤凰广场、中南商圈、南通市第一人民医院新院区等配套,优势明显。

-END-
公众号对话框回复楼盘名称,
一键查楼盘详情、加买房群

免责申明:1/本文来源南通楼市网,仅供参考和交流,不构成直接投资建议;2/任何投资行为均有不同程度风险性,投资需理性;3/添加微信nt36522,观察君拉你进买房交流群。


