◤公众号对话框回复楼盘名称,查楼盘、加买房群◢

城西又一新盘规划公示!
全小区楼层仅3-10F
总户数297户
容积率低至1.31
北侧就是规划中的通师二附任港湾校区
值得期待!
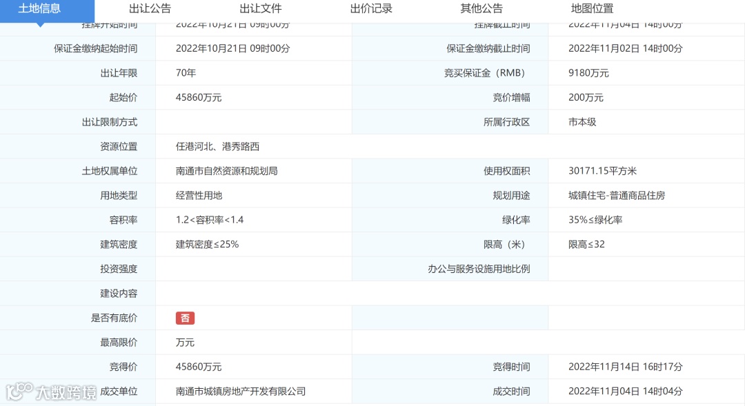
就在刚刚!南通市行政审批局正式发布《南通市任港河北、港秀路西侧地块(R22021地块)批前公示》,城西任港湾板块再添超低密纯新盘,由崇川区国企城镇房产打造。

根据规划,R22021地内将打造别墅+洋房的低密社区,其中包括6栋别墅、1栋5层洋房、8栋6层洋房和2栋10层洋房,容积率1.31,总户数仅297户,部分楼栋底层架空设计。

R22021地块紧邻任港河核心景观带,周边配套也比较成熟。
地块东侧不远处就是大润发,4公里范围内有万达广场、龙信广场、山姆会员店等大型商业,距离南大街商圈也不远,满足基本生活需求。

2022年11月,R22021地块被南通市城镇房地产以底价4.59亿拿下,成交地价15200元/㎡,成交楼面价10919元/㎡,不限房价。

目前区域内多宗地块已经拆迁完毕,体育公园已经规划完毕,区域面貌即将焕新。
值得一提的是,该地块北侧就是规划建设中的南通师范学校第二附属小学任港湾校区,未来教育资源也会成为其一大优势。

今年年初通师二附任港湾校区启动招标,即将进入正式施工阶段。
通师二附任港湾校区总投资约2.6亿元,该项目位于人民西路南、港秀路西侧,工程拟用地面积约46034㎡,总建筑面积约33070㎡,地下建筑面积最终以市行政审批局核定面积为准。

工程内容包含新建教学楼、综合楼、图文信息中心、办公楼、报告厅、食堂及后勤服务楼、风雨操场、传达室、连廊及人防地下室等,室外新建环形塑胶跑道运动场约300米、球场、围墙、广场、内部道路、景观绿化及管线等工程。

你觉得任港湾板块的这个项目如何?欢迎评论区留下你的看法。
-END-
公众号对话框回复楼盘名称,
一键查楼盘详情、加买房群
免责申明:1/本文来源南通楼市网,仅供参考和交流,不构成直接投资建议;2/任何投资行为均有不同程度风险性,投资需理性;3/添加微信nt36522,观察君拉你进买房交流群。


