◤公众号对话框回复楼盘名称,查楼盘、加买房群◢
就在刚刚,南通市自然资源和规划局官网公布了《江纬路南、规划城山六路西R23002地块项目批前公示》,至此,主城区这块备受关注的超mini地块规划终于浮出水面。

根据地块规划,R23002地块占地面积4921㎡,容积率低至1.098,仅建设有2栋5层洋房,总户数仅8户,全人车分流。此外,项目还将配建物管用房、邮政服务用房、消防控制室及分类垃圾收集站。

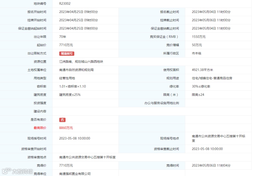
2023年5月6日,南通强邦置业有限公司以总价7710万元拿下江纬路南、规划城山六路西R23002地块,成交楼面价14242元/㎡,未来不限房价。

整体上来看,R23002地块处于位于城南板块内,距离南大街商圈、中南商圈、圆融商圈都距离不远,堪称“出则繁华、入则宁静”。
此外通师一附朝晖校区、易家桥中学、田家炳中学高中部、苏果超市等遍布周边,配套较为齐全。

地块所处的城山路沿线板块为南通传统的富人区,苏建名都城、城山隐、金茂府、锦安花园、春晖花园、天安花园等小区均是当时的天花板,目前周边二手房挂牌价在2-3万/㎡之间。

地块北侧同样是超低密度的城山隐小区更是具有参考意义,目前整个小区挂牌价高达51868元/㎡,洋房单价则在3万/㎡左右。

土拍方面,板块内少有住宅用地出让,且都价格不菲:
●2014年8月11日,南通帝冠贸易有限公司以总价2.73亿将R14031地块(城山隐)收入囊中,楼面价为7890元/㎡;
●2014年8月11日,苏建地产经过169轮竞价拿下段家坝路北,城山路西侧R14031纯住宅地块(苏建名都城),折合楼面价8000元/㎡;
●2021年7月9日,金茂地产总价11.89亿元拿下城山路沿线的R18017地块(崇川金茂府),折合楼面价19435元/㎡,溢价率62%。

地块所处板块内目前无在售新房,周边地缘改善客群需求无法得到满足。而该地块的入市后,将积极补仓区域局部的新房市场。
对于R23002地块,你觉得未来售价会是怎样?欢迎在评论区留下你的看法。
-END-
公众号对话框回复楼盘名称,
一键查楼盘详情、加买房群

免责申明:1/本文来源南通楼市网,仅供参考和交流,不构成直接投资建议;2/任何投资行为均有不同程度风险性,投资需理性;3/添加微信nt36522,观察君拉你进买房交流群。


