◤公众号对话框回复楼盘名称,查楼盘、加买房群◢
五龙云璟 |龙憩苑| 建发观云府| 臻如府|桃李春风苑|紫琅吾岛 |大华铂璟湾| ⭐更多南通在售楼盘
就在刚刚!南通主城突击挂地,一口气就是4宗,全部不限地价不限房价,值得关注——
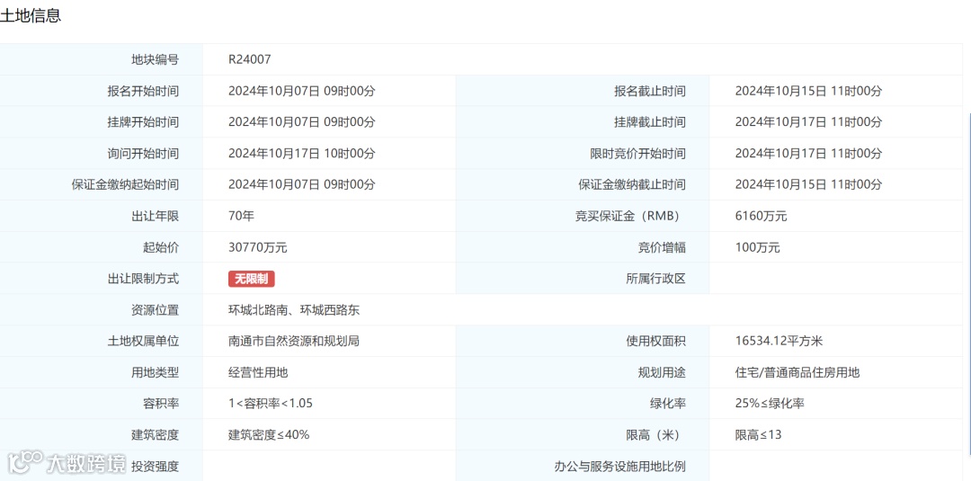
●R24007位于主城濠河板块环城北路南、环城西路东,地块容积率1<R<1.05,起拍楼面价17723.8元/㎡,价高者得,10月17日开拍;
●R24008位于北大街核芯板块港达路南、友谊路西,地块容积率1<R<1.2,起拍楼面价9050.1元/㎡,价高者得,10月17日开拍;
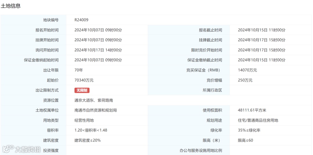
●R24009位于城东板块通京大道东、紫荷路南,地块容积率1.2<R<1.48,起拍楼面价9878.5元/㎡,价高者得,10月17日开拍;
●R24010位于主城板块法果路北、川果路西,地块容积率1<R<1.29,起拍楼面价10434.3元/㎡,价高者得,10月17日开拍;

R24007地块
本次挂牌的R24007地块位于南大街板块环城北路南、环城西路东,占地面积为16534.12㎡,容积率1-1.05,限高13米。

根据出让公告显示,地块竞买实行价高者得的竞买模式,起拍总价3.077亿元,起拍楼面价17723.8元/㎡,不限房价;
根据规划条件,地块内住宅建筑层次为3层为主,需要配套建设物业管理用房、邮政服务用房等配套用房。

该地块位于南通六桥内,紧邻南通濠河风景区,风景一绝。
配套方面,南大街商圈咫尺即达,南通市实验小学、南通中学、南通中医院、南通大学附属医院等高能级配套环伺,南通地铁1号线、2号线均在周边穿行而过,居住于此兼具舒适性和便利性。

土拍方面:
2023年12月16日,江苏盛和房地产股份有限公司、南通崇发置业有限公司联合斩获位于濠北路北、华丰河两侧的R23020地块(原BU中心地块),地块容积率1<R<1.3,成交楼面价11721.5元/㎡。

盛和R23020地块主打低密、高端,位于濠河北岸,共规划有16栋3-7层洋房及别墅住宅,容积率1.3,总户数135户。

2024年8月30日,南通天扬置业有限公司底价拿下位于濠东路东、濠北路南的原爱德士鞋业地块,地块面积37382m²,容积率仅1.0-1.41,住宅建筑高度控制在35米以内,成交楼面价约13138元/㎡。

R24008地块
本次挂牌的R24008地块位于北大街板块港达路南、友谊路西,占地面积为21961.12㎡,容积率1-1.2,限高35米。

根据出让公告显示,地块竞买实行价高者得的竞买模式,起拍总价2.385亿元,起拍楼面价9050.1元/㎡,不限房价;
根据规划条件,地块内住宅建筑层次为3层及以上,需要配套建设物业管理用房、生活垃圾手机站、邮政服务用房、体育活动站、居家养老服务站、婴幼儿照护服务站、社区服务站等配套用房。

地块位于北大街板块核芯位置,北侧斜对角为板块内曾经的天花板项目——绿城桂语江南,曾经预售均价高达27161元/m²,且一房难求。

交通方面,地块南侧为江海大道高架,西侧为北大街,北侧不远处为南通站综合交通枢纽,此外还临近南通地铁2号线北大街站,交通便利。
周边北城小学、北城中学、万象城、万科金域广场、圆融堤调、大润发超市齐备,居住氛围浓厚。

R24009地块
本次挂牌的R24009地块位于城东板块通京大道东、紫荷路南,占地面积为48111.61㎡,容积率1.2-1.48,限高60米。

根据出让公告显示,地块竞买实行价高者得的竞买模式,起拍总价7.034亿元,起拍楼面价9878.5元/㎡,不限房价;
根据规划条件,地块内住宅建筑层次为3层及以上,需要配套建设物业管理用房、生活垃圾手机站、邮政服务用房、体育活动站、养老服务站、婴幼儿照护服务站、文化活动站、体育活动用房等配套用房。

R24010地块
本次挂牌的R24010地块位于主城板块法果路北、川果路西,占地面积为24271.5㎡,容积率1-1.29,限高24米。

根据出让公告显示,地块竞买实行价高者得的竞买模式,起拍总价3.267亿元,起拍楼面价10434.3元/㎡,不限房价;
根据规划条件,地块内住宅建筑层次为3层及以上,需要配套建设物业管理用房、装修垃圾堆放点、邮政服务用房等配套用房。

根据投资监管协议,竞得人须负责筹措人民币3000万元为甲方在本地块东北侧相邻地块内,代建地上建筑面私不小于5000平方米的公共服务设施项目。
-END-
点击关注下方公众号
在对话框内回复楼盘名称,
⬇️一键查楼盘详情、加买房群⬇️

【品质改善 精选好盘】
免责申明:1/本文来源南通楼市网,仅供参考和交流,不构成直接投资建议;2/任何投资行为均有不同程度风险性,投资需理性;3/添加微信nt36522,观察君拉你进买房交流群。

