◤公众号对话框回复楼盘名称,查楼盘◢
猝不及防!就在刚刚,南通主城突击挂牌2块好地!

01.南通职业大学北侧——
R24028住宅地块
就在刚刚,南通主城R24028地块重磅挂牌!用地性质为居住用地,用地面积约33993.44平方米,建筑面积≤60800平方米,1.0<容积率<1.79,建筑高度≤60米。
根据投资监管协议,乙方须在签订《成交确认书》后1个月内,在崇川区范围内实现外资到账3000万美元(或等值境外货币)。

规划要求住宅建筑层次为3层及以上,现代风格,与周边环境相协调,须配套建设物业管理用房、生活垃圾收集站、装修垃圾堆放点及邮政服务用房等。

R24028地块位于南通主城核心位置,南侧为南通职业大学,南通地铁2号线、青年路、通京大道高架、工农路等交通干线环伺,学田中学、城中小学三里墩校区都距离不远,荷兰街、学田路、圆融金鹰广场等网红商业街区近在咫尺,生活氛围相当浓厚。

地块周边的次新二手商品房云集,如远创樽樾、濠悦府、中海铂樾府、九玺台、华润静安府等高端住宅云集,挂牌均价基本都在3万/平上下,堪称南通塔尖区域。


02.时代悦城北侧——
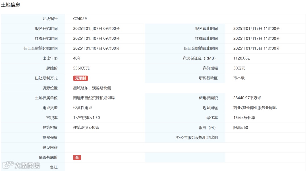
C24029商业商服地块
与此同时,位于星城路东、观畅路北侧的C24029地块也正式挂牌。

C24029地块为一宗商业/其他商业服务业地块,占地面积28440.97m²,建筑面积≤42600平方米,其中商业(含酒店)及配套用房建筑面积≤36600 平方米(其中酒店建筑面积≥5000平方米),文化活动中心建筑面积≥6000平方米。
地块起拍总价0.556亿元,将于2025年1月17日出让。


(1)招引1家酒店,达到限额以上住宿业企业要求,以企业营业执照和区统计局出具的限额以上企业认定材料为准。
(2)招引1家旅游服务企业,负责街区整体打造,以企业营业执照和与崇川经济开发区签订的街区打造合作协议为准。
(3)招引1家演艺公司,在公司落地后1年内完成小剧场演出不少于10次,之后连续 10 年每年完成小剧场演出不少于5次,以企业营业执照和区文旅局出具的演出备案材料为准。
(4)招引1家文化艺术公司,打造文化艺术长廊,在公司落地后1年内举办文化艺术展览及活动不少于10次,之后连续10年每年举办文化艺术展览及活动不少于5次,以企业营业执照和区文旅局出具的展览活动备案材料为准。

目前,板块内有中铁逸都、城镇铂域澜湾、中海观山樾、绿城桂语朝阳等多个新房在售,且多为准现房或者现房,竞争较为激烈。



⬇️左下角点击关注公众号,对话框内回复楼盘名称,一键查楼盘、加买房群。
免责申明:1/本文来源南通楼市网,仅供参考。如因阅读文章,对您购房行为产生损失,平台不承担相关责任;如果您继续阅读文章,则视为已知晓认可该声明。2/添加微信nt36511,拉你进买房交流群。



