◤公众号对话框回复楼盘名称,查楼盘◢
五龙云璟 |龙憩苑| 建发观云府| 臻如府|桃李春风苑|金鹰世界|大华铂璟湾| ⭐更多南通在售楼盘
海门府南板块,这一段时间以来可以说是动作频频:
◆12月13日,挂牌重量级商业C24031地块👉猛料!南通重量级商业挂牌,新地标来了!;
◆12月18日,挂牌容积率1.1、三面临水的R24033超低迷住宅地块👉容积率1.1,三面临水!南通十年难见地块挂牌,楼面价11736元/㎡起!;
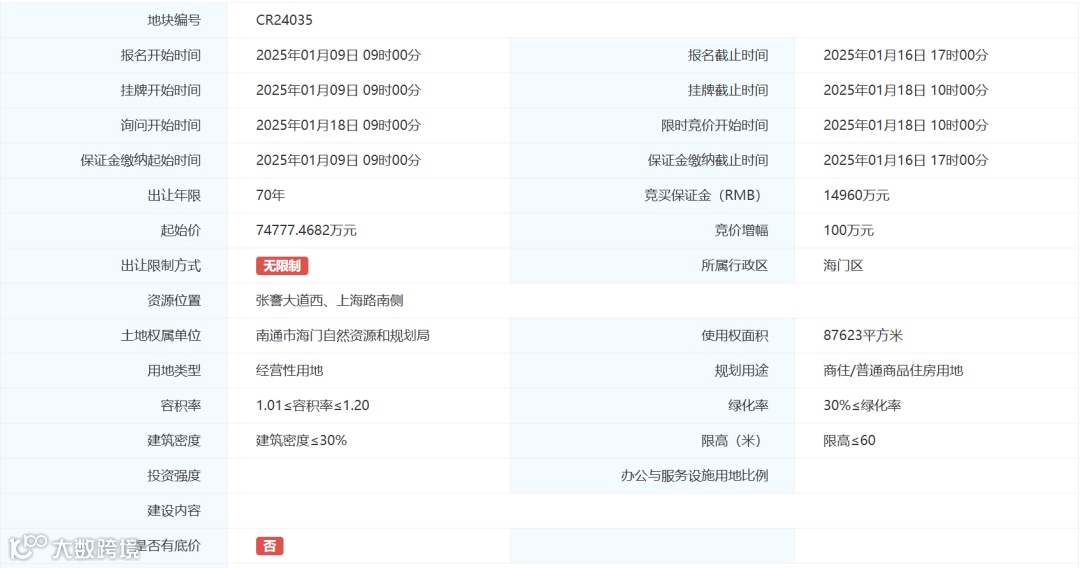
就在刚刚,占地面积达到87623m²的CR24035地块又重磅上架,容积率不高于1.2,又是一宗超低密地块!


结合现状条件,区域强调以生态特色为基础,形成“一心一轴,两廊三片多节点”的整体结构:
一心:高强度集聚开发的CBD核心;
一轴:依托张謇大道的城市发展形象轴;
两廊:西侧沿圩角河的以生活游憩、国际文化体验功能为主的休闲水绿廊;东侧由府南绿廊构成的活力水绿廊;
三片:即由北往南形成行政文化服务区、商务混合办公区、品质生态生活区;
多节点:沿发展轴线和生态廊道形成多处特色功能节点,如金融集聚区、研发中心、滨江体验商业、行政中心、文化中心、国际社区、社区中心等。



目前,海门府南绿廊视线廊道有2大高品质项目即将入市,都为别墅+小高层的高端配置,未来将正面竞争:
1、长江路西、聚贤路两侧项目(国昌CR23031地块)
该项目由海晟集团与国昌集团合作开发,地块内将建设一栋高度达到142.4米的酒店及办公超高层建筑,酒店客房套数136套。
住宅部分,项目分为南北两个片区——
①南区为3栋17层小高层和别墅房源,总户数185户。
②北区为1栋15层小高层、1栋16层小高层和别墅房源,总户数为105户。

根据拿地时的要求,竞得人在地块功能区一(商办地块)中所建办公建筑计容面积大于等于该地块计容建筑面积的60%,其中建设一幢主体计容建筑总面积约40000㎡的地标性超高层建筑(办公+酒店及配套商业)。

位于长江路西、圩角北河南侧的山和云畔项目,目前正在如火如荼地建设中。




⬇️左下角点击关注公众号,对话框内回复楼盘名称,一键查楼盘、加买房群。
免责申明:1/本文来源南通楼市网,仅供参考。如因阅读文章,对您购房行为产生损失,平台不承担相关责任;如果您继续阅读文章,则视为已知晓认可该声明。2/添加微信nt36511,拉你进买房交流群。


