值得一提的是,地块评估价高达4.8亿元,本次相当于自降2亿出让,极具诱惑力。
根据法拍信息,上述两处不动产系整体变卖,均为RJY2010-1#地块(规划编号)其中一部分。

其中,A区国有土地使用权证书号为苏(2018)如皋市不动产权第0019439号,土地使用面积为38937.67平方米,规划用途为城镇住宅用地,土地使用权取得方式为出让,土地使用年限至2080年6月3日止;
B1区国有土地使用权证书号为苏(2018)如皋市不动产权第0019440号,土地使用面积为25497.08平方米,规划用途为商务办公,土地使用权取得方式为出让,土地使用年限至2050年6月3日止;
B2区则为已经建成的彩虹城小区、中如大厦等部分建筑。

上述两处不动产均设有抵押登记,登记抵押权人分别为南京银行股份有限公司如皋市支行、中皋融资担保有限公司、江苏中皋商业保理有限公司,变卖成交后依法注销抵押登记。
地块位于如皋主城核心地段,东临彩虹城别墅区、南临解放路、西临观风南路、北临钱桥路(原皋南路),区域内居住和商业服务业用地数量较多,如皋市行政中心、万达广场、如皋奥体中心、吾悦广场等配套集聚,位置非常优越。
地块现状为已经完成拆迁但场地未平整的待发“净地”,地块内杂草丛生,非常荒芜。
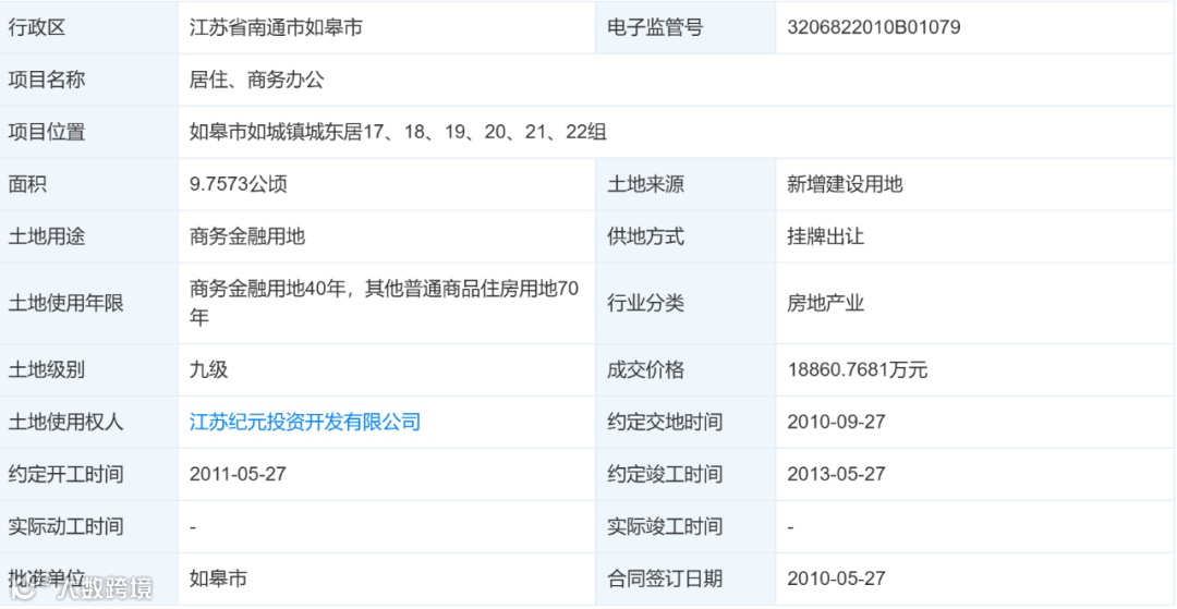
观察君查询资料发现,该地块于2010年被江苏纪元投资开发有限公司(现更名为江苏朗居建筑工程有限公司)摘得,成交价约为1.88亿元,至今已经15年,土地寿命也随之大大缩水。
综合来看,此次法拍可谓机遇与风险并存。机遇在于其无可替代的核心区位和近乎腰斩的起拍价,而风险则深藏于复杂的债权债务和长达15年的历史遗留问题中。
对于有意向的接盘方而言,不仅是一次资金实力的考验,更是一次处理复杂问题能力的挑战。
这块“宝藏地块”最终花落谁家,又将迎来怎样的未来,我们将会持续关注。
- THE END -
加入购房群获得一手楼市信息
和更多购房者一起交流买房经验👇👇

楼盘直达
免责申明:1/本文来源南通楼市网,仅供参考。如因阅读文章,对您购房行为产生损失,平台不承担相关责任;如果您继续阅读文章,则视为已知晓认可该声明。2/添加微信nt36511,拉你进买房交流群。

