6月17日深夜,网友“老谢同学之你谢哥”发文,其自称“曾是李雪琴公司(北京十斤文化传媒有限公司)的股东”,实名举报该公司财务问题。

大家好!我是谢田飞,对如下所述内容负法律全责(附身份照片和账号证明,确保实名所发)
我曾是李雪琴公司(北京十斤文化传媒有限公司)的股东,也是她脱口秀段子里提到的“老板”。
今日,我与李雪琴就《股权代持协议》纠纷一案,在北京市朝阳区法院进行了第二次一审开庭。
庭审中,李雪琴方律师终于提交了我们原合作公司——北京十斤文化传媒有限公司的《清算报告》(该公司已于2022年6月17日完成注销)。
该报告显示,公司剩余资产分配金额为1100余万元。根据双方提供的协议证据及转账记录,其中应分配给我的利润为330余万元,但我在2021年实际仅收到140万元,尚有约190万元未分配给我(具体金额以法院最终判决为准)。
尽管如此,我对上述剩余财产依然存有强烈质疑!“北京十斤文化”及其5家全资子公司的具体账务明细至今仍未明确。因为,上述1100余万元剩余资产,是由李雪琴主导清算的。而根据我现有证据,其中至少两家子公司账务存在明显异常:
1. 子公司A以约110万元购入奔驰车辆,使用13个月后,以44万余元出售给李雪琴的父亲;
2. 子公司A以26万元购入的车辆,同样在13个月后,以13万元出售给李雪琴的母亲;
3. 子公司B有600万元分61笔转账给一名与公司无关的“个人”;
4. 子公司B有1400余万元转入某财务公司账户,该公司在收款第4天即被注销,且该财务公司实控人为李雪琴现合伙人杨凡所控制公司的财务负责人。
综上,所有子公司的利润最终应合并到“北京十斤文化”。若账务存在问题,将直接影响“北京十斤文化”的剩余资产分配。
因此,我的代理律师在庭上强烈要求法院对此进行进一步调查,以确认上述1100余万正确。但遗憾的是,法院最终表示,无法通过本次起诉查询各子公司的账务明细。我只能遵循法庭安排,后续另案起诉,继续调查。
整三年来,我多次要求李雪琴方面提供相关清算报告及财务明细,也曾试图友好协商解决纠纷,但均遭拒绝。直至今日之结果,我心情是十分复杂的,难以言表…
根据法庭建议(非强制性约束),相关证据《清算报告》和分配记录暂不便公开,出于对法庭的尊重,只能适度披露案件进展。
后续我将公布上述子公司明显异常的证据,请大家持续关注。谢谢。
企查查APP显示,北京十斤文化传媒有限公司法定代表人为李雪琴(原名 李雪阳)。2021年5月,李雪琴将所持该公司90%股权转让给其母亲贾凤春实控的上海酥年文化艺术策划合伙企业(有限合伙),后续北京十斤文化传媒于2022年6月注销,上海酥年公司于2023年4月注销。
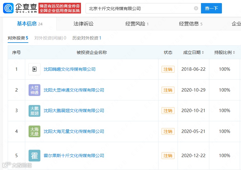
此外,由北京十斤文化传媒投资的沈阳嗨趣文化传媒有限公司、沈阳大显神通文化传媒有限公司等均已注销。谢田飞担任其中沈阳嗨趣文化传媒、霍尔果斯十斤文化传媒公司法定代表人、执行董事等职务。




李雪阳(李雪琴)名下关联6家公司,仅上海七吟创意策划工作室1家为存续状态。网友举报的北京十斤文化传媒有限公司成立于2019年4月,注册资本10万,李雪阳担任法定代表人、执行董事等,该公司曾于2020年期间投资成立4家企业,当前均为注销状态,行业均为文化、体育和娱乐业。当前李雪琴某平台粉丝达1141.6万,第三方数据显示,其60秒以上广告视频报价15.24万。




象象留言有奖活动来啦!
(每周好礼:小象玩偶、大象文创袋、象象定制笔记本,三选一)
获奖名额:
最有态度奖:当周留言总数前5名
金句达人奖:当周精选留言条数前5名
人气爆棚奖:当周单条留言点赞数前5名
参与方式:1.关注本公众号,确保留言资格;2.在当周任意推文评论区留言,内容需符合平台规范;3.邀请好友为你的留言点赞,提升获奖概率。
结果公布:每周一获奖名单将在公众号菜单栏“热门”——“本周获奖”中公布,中奖者需在48小时内私信联系客服领取,逾期视为放弃。
推荐阅读



