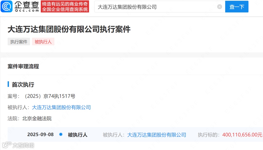
中国执行信息公开网显示,近日,大连万达集团股份有限公司新增一则被执行人信息,执行标的4亿余元,执行法院为北京金融法院。
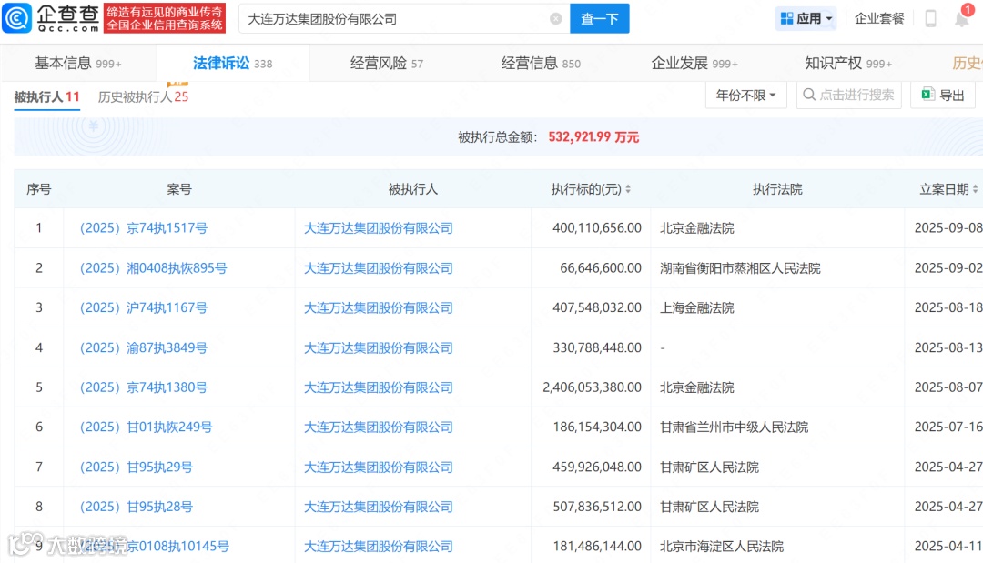
据企查查信息显示,大连万达集团股份有限公司成立于1992年9月,法定代表人为王健林,注册资本10亿元,经营范围包含货物进出口、技术进出口、国内一般贸易等,由大连合兴投资有限公司、王健林共同持股。该公司现存11条被执行人信息,被执行总金额超53亿元,此外,该公司所持多家公司股权已被冻结。




象象留言有奖活动来啦!
(每周好礼:大象文创袋、象象定制笔记本,二选一)
获奖名额:
最有态度奖:当周留言总数前5名
金句达人奖:当周精选留言条数前5名
人气爆棚奖:当周单条留言点赞数前5名
参与方式:1.关注本公众号,确保留言资格;2.在推文评论区留言,内容需符合平台规范(留言数量越多,获奖几率越大);3.邀请好友为你的留言点赞,提升获奖概率。
结果公布:每周一获奖名单将在公众号菜单栏“热门”——“本周获奖”中公布,中奖者需在48小时内私信联系客服领取,逾期视为放弃。
象象留言有奖活动来啦!
(每周好礼:大象文创袋、象象定制笔记本,二选一)
获奖名额:
最有态度奖:当周留言总数前5名
金句达人奖:当周精选留言条数前5名
人气爆棚奖:当周单条留言点赞数前5名
参与方式:1.关注本公众号,确保留言资格;2.在推文评论区留言,内容需符合平台规范(留言数量越多,获奖几率越大);3.邀请好友为你的留言点赞,提升获奖概率。
结果公布:每周一获奖名单将在公众号菜单栏“热门”——“本周获奖”中公布,中奖者需在48小时内私信联系客服领取,逾期视为放弃。
象象留言有奖活动来啦!
(每周好礼:大象文创袋、象象定制笔记本,二选一)
获奖名额:
最有态度奖:当周留言总数前5名
金句达人奖:当周精选留言条数前5名
人气爆棚奖:当周单条留言点赞数前5名
参与方式:1.关注本公众号,确保留言资格;2.在推文评论区留言,内容需符合平台规范(留言数量越多,获奖几率越大);3.邀请好友为你的留言点赞,提升获奖概率。
结果公布:每周一获奖名单将在公众号菜单栏“热门”——“本周获奖”中公布,中奖者需在48小时内私信联系客服领取,逾期视为放弃。
象象留言有奖活动来啦!
(每周好礼:大象文创袋、象象定制笔记本,二选一)
获奖名额:
金句达人奖:当周精选留言条数前5名
人气爆棚奖:当周单条留言点赞数前5名
参与方式:1.关注本公众号,确保留言资格;2.在推文评论区留言,内容需符合平台规范(留言数量越多,获奖几率越大);3.邀请好友为你的留言点赞,提升获奖概率。
结果公布:每周一获奖名单将在公众号菜单栏“热门”——“本周获奖”中公布,中奖者需在48小时内私信联系客服领取,逾期视为放弃。
推荐阅读
推荐阅读


