
前言摘要
技术动态方面:随着我国智能化软硬件生态链的逐步完善,中国车企的创新脚步也将愈发加快。Stellantis 的脱手主动驾驶辅助系统、Cepton 推出的汽车激光雷达Ultra、Septentrio推出的AntaRx-Si3、Stellantis India 开发的人工智能汽车座舱等技术研究成果,有助于指导我国汽车产业的可持续高质量发展,为科技创新布局、产品规划和金融资金支持方向提供支撑。
终端市场方面:汽车行业市场竞争愈演愈烈,比亚迪、特斯拉等头部企业开始率先降价,引起多个品牌跟进,新一轮“价格战”将持续展开,小米公司发言人回应小米首款车型(SU7)售价及产能方面均未正式确定。各大汽车厂商不断推出新款车型,其中,新能源汽车车型成为各大汽车厂商关注热点。此外,新款车型不管是在续航里程、动力方面还是在内饰外观方面相较于之前都有了较大创新与改进,悦达起亚的 EV5 长续航版、雷克萨斯的 ES 200特别版、奔驰 EQB、比亚迪的海豚荣耀版等汽车不断升级以提高竞争力。如今,汽车终端市场正朝着更智能、更安全、更电气化的方向发展,以满足不断增长的消费者需求和技术创新。
供应链方面:新能源动力电池、钠离子电池等仍然是投资的重要领域,一汽弗迪、博格华纳和力神电池等厂商继续扩大其在电池领域的投资布局。汽车厂商加速布局海外市场,如小鹏汽车在中东非市场已与阿联酋经销商集团 Ali&Sons、埃及 RAYA 集团、阿塞拜疆 SR 集团、约旦 T Gargour&Fils 集团、黎巴嫩 GargourAsia SAL 集团达成战略合作伙伴关系,比亚迪与壳牌旗下巴西能源公司 Raízen Power 达成战略合作伙伴关系,合作协议的签订将有助于增加汽车销售和市场份额。
(二)全国性政策
2.1 工信部发布新能源汽车减税优惠目录
2月4日,工信部将许可的《道路机动车辆生产企业及产品》(第 379 批)以及经商国家税务总局同意的《享受车船税减免优惠的节约能源使用新能源汽车车型目录》(第五十八批)、《减免车辆购置税的新能源汽车车型目录》(第二批)予以公告。
2.2 国家金融监督管理总局印发汽车金融公司监管评级办法
2月8日,国家金融监督管理总局印发汽车金融公司监管评级办法,旨在全面评价汽车金融公司的经营管理和风险状况,合理配置监管资源,有效实施分类监管,促进汽金公司稳健经营和规范发展,逐步提升服务实体经济能力。
汽金公司的监管评级满分 100 分,要素包括公司治理(10%)、资本管理(10%)、风险管理(35%)、专业服务能力(20%)、消费者权益保护(15%)、信息科技管理(10%)等六个部分。汽金公司监管评级指标由定量和定性两类评级指标组成。
汽金公司的监管评级周期为一年,评价期间为上一年 1 月 1 日至 12 月 31 日。年度评级工作原则上应当于每年 3 月底前完成。
汽金公司的监管评级结果从优到劣分为 1—5 级和 S 级,其中 1—3 级进一步细分为 A、B 两个档次。汽金公司出现重大风险的,直接划分为 5 级。处于重组、被接管、实施市场退出等情况的汽金公司经监管机构认定后直接列为 S 级,不参加当年监管评级。
规定监管评级结果应当作为监管机构制定及调整监管规划、配置监管资源、采取监管措施和行动的主要依据,并作为汽车金融公司业务分级分类监管的审慎性条件。
(三)地方性政策
3.1 北京市:发布《昌平区电动汽车超充快充基础设施专项规划方案(2023-2025 年)》
3.2 广州市白云区:启动 2023 年度电动汽车充电基础设施建设奖补资金项目
3.3 深圳市:发布《深圳市小汽车增量调控管理实施细则》
3.4 山东省:对氢能车辆暂免收取高速公路通行费
技术动态
(一)自动驾驶软件
1.1 特斯拉——发布 FSD Beta v12.1.2
据外媒报道,特斯拉(Tesla)宣布扩大其全自动驾驶(FSD)Beta 计划,向部分特斯拉车主发布了FSD Beta 12.1.2 的第一个公共版本(更新时间为 2023.44.30.12)。
1.2 通用汽车——推出自动驾驶辅助系统
通用汽车公司(General Motors)2月15日宣布其名为 "超级巡航"(Super Cruise)的自动驾驶辅助系统正在更新,将覆盖美国和加拿大约 75 万英里的道路,几乎是目前覆盖范围的两倍。
(二)自动驾驶硬件
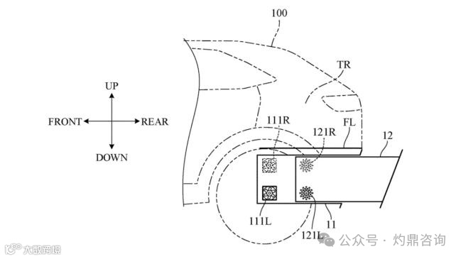
2.1 Cepton——推出汽车激光雷达 Ultra
2.1.1 Cepton 推出汽车激光雷达 Ultra 采用 MagnoSteer 技术
据外媒报道,硅谷高性能激光雷达解决方案供应商 Cepton 宣布推出其全新旗舰汽车激光雷达Ultra。Ultra 是迄今为止市场上最小、最薄的高性能汽车激光雷达。凭借其极其紧凑的外形尺寸和功效,Ultra 专为无缝集成到车辆的各个位置而设计,无需额外的冷却系统。它可以嵌入挡风玻璃后面、车顶线、前照灯和仪表板中,为各种汽车用例提供高精度感知。
2.2 Septentrio 推出 AntaRx-Si3
2月5日,高精度 GNSS/INS 定位解决方案供应商 Septentrio 宣布推出 AntaRx -Si3。这是市场上首款采用超坚固外壳的 GNSS/INS(惯性导航系统)智能天线(Smart Antenna),专为轻松安装在农业机器人等机器上而设计。
2.3 LG Innotek——开发出自加热摄像头模块
2月20日,韩国 LG Innotek 公司宣布开发出专为自动驾驶汽车设计的尖端自加热摄像头模块,能够快速去除镜头上的霜和雪。汽车制造商们认为自加热摄像头对于确保安全自动驾驶至关重要,因为镜头被遮挡可能导致无法检测到周围的障碍物,从而可能引发严重事故。
(三)智能座舱
3.1 Stellantis India——开发人工智能汽车座舱
据外媒报道,最近,先进的汽车制造商Stellantis一直在开发STLA SmartCockpot,该驾驶座舱将与车辆乘员的数字生活无缝集成,并将车辆转变为个性化的生活空间。
得益于下一代智能座舱的界面,用户可以通过触摸、语音、眼神和手势等输入方式,以更自然的方式与汽车互动。此外,它使用由 AI 驱动的应用程序提供广泛的特性和服务,例如导航、语音帮助、电子商务市场和支付服务。
3.2 沃尔沃——推出事故预警系统
沃尔沃打算推出一项新的安全功能,可以在前方发生碰撞或故障时发出警告。该系统名为 "事故警报系统"(Accident Ahead Alert),依靠云技术和匿名共享的实时数据,这些数据由多个国家交通管理中心收集。
在兼容该系统的沃尔沃车型上,驾驶员会在间隔数百英尺时就收到前方车辆的警告。兼容的沃尔沃汽车已经可以在路面湿滑和其他危险情况下相互发出警告。
3.3 Rivian——推出自由轮拖曳软件
根据一份专利申请文件,Rivian 公司正在开发一款软件,使其电动汽车能够实现自由轮拖曳。自由轮拖曳是指汽车被拖在另一辆车后面,四个轮子都着地。对于房车车主来说,这是一种常见的做法。
自由轮拖曳模式将断开通常为后轮提供动力的电机,但保持前轴电机啮合。扭矩仍将作用于前轮,以防止车辆滚动时与牵引车辆脱节。软件将使用车辆现有的传感器来测量车轮速度和坡度,必要时施加扭矩,并在达到预定阈值时切断扭矩。
(四)动力总成
4.1 韩国中央大学研究团队——提出减轻锂电池极化效应策略
2月1日,在期刊《Energy Storage Materials 》发表的一项新研究中,由韩国中央大学(Chung-Ang University)副教授 Janghyuk Moon 领导的研究人员提出一种创新策略,可减轻锂离子电池快速充电过程中的极化效应。
4.2 山东大学——合成可优化超级电容器的新材料
山东大学毕见强教授团队最近的研究中,在水热合成 NiFe2O4 的基础上,通过活性炭床内的后续热处理过程成功合成了具有大量氧空位的 NiFe2O4−δ。与 NiFe2O4 同类材料相比,它表现出优异的导电性,并且电容显着增加了 3.7 倍。这种增强的电化学性能凸显了氧空位在优化金属氧化物性能方面发挥的关键作用。此次研究结果也有力地表明,刻意引入氧空位对于提高金属氧化物的电化学性能具有很大的希望,因此可作为超级电容器电极的有前途的材料。相关研究已发表于期刊《化学科学与工程前沿》。
4.3 利物浦大学——发现可快速传导锂离子的固态电解质
据外媒报道,利物浦大学(University of Liverpool)的研究人员发现了能够快速传导锂离子的固体材料。在为电动汽车和许多电子设备提供动力的可充电电池中,这些锂电解质是重要的组成部分。
4.4 斯坦福大学新发现——锂金属电池耗尽并休息可以提高性能
科学家们一直在测试各种新材料和技术,以提高电池的循环寿命。据外媒报道,近日,斯坦福大学(Stanford University)的研究人员发现了一种低成本的解决方案:只需耗尽电池并让它休息几个小时,即可恢复电池容量并提高整体性能。相关研究院发表于期刊《Nature》。
4.5 德克萨斯大学——开发出新钠电池 可显著降低起火风险
据外媒报道,德克萨斯大学奥斯汀分校(University of Texas at Austin)研究人员开发出新钠电池,显著降低了该技术的火灾风险,同时还依赖廉价、丰富的材料作为其构建模块。
4.6 KIST-LLNL——开发氟取代高压稳定氯基固体电解质
据外媒报道,韩国科学技术研究院(KIST)和劳伦斯利弗莫尔国家实验室(LLNL)的联合研究团队通过计算科学开发出高压稳定的氟取代氯基固体电解质。自2019年以来,KIST 和 LLNL 一直在充电电池领域进行合作研究。
(五)整车与车身控制
5.1 本田——保险杠隐藏储物箱
本田公司希望在电动汽车保险杠上建造额外储物空间。本田公司于2023年7月13日向美国专利商标局(USPTO)提交了一份专利申请,并于2024 年2月1日公布了该专利申请,其中详细介绍了一个用于存放包裹的滑出抽屉。
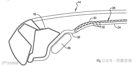
5.2 本田——可伸缩排气孔
本田公司为一种可伸缩排气孔(active diffuser)提交了专利申请,这种排气孔只有在需要时才会展开。本田在美国专利商标局(USPTO)2月6日公布的专利申请中指出,车尾排气孔通常是固定的,这就造成了设计有效排气孔的需求与造型、偏离角度甚至可能与政府法规等因素之间的冲突。
5.3 格拉茨技术大学——开发创新防冰涂层
据外媒报道,奥地利格拉茨技术大学(TU Graz)的研究团队开发出新型喷涂涂层,未来可能有助于更轻松地刮除车窗上的冰。这种高度防冰涂层可以粘附在多种材料上,并且非常耐磨。
5.4 Stellantis——电动越野车双速变速箱
据外媒报道,Stellantis 正在设计一种用于电动越野车的双速变速器。
大多数电动汽车(保时捷 Taycan 是一个明显的例外)都使用单速变速器,因为电动机的即时扭矩使得多档变得没有必要。但 Stellantis 公司认为对于越野车来说可能并不是这样。Stellantis 指出,虽然越野通常需要在低速时获得很大的扭矩,但越野档对于公路行驶的效率和续航能力来说并不理想。因此,Stellantis 建议将一档用于公路驾驶,另一档用于越野。
变速器本身将使用两个齿轮组安装在电动机和车桥半轴之间的外壳中,由离合器控制扭矩输出。离合器将啮合两个齿轮中的一个,并控制向车轮的输出。
专利申请书中称,离合器还可用于将半轴向不同方向旋转,使电动汽车 "围绕支点旋转,从而提高低摩擦下的机动性"。Stellantis 还提到利用这种硬件 "实现高速越野机动性"。
Stellantis 已经通过吉普 Magneto 概念车对电动越野车进行了试验。
5.5 通用汽车——申请充气式车顶衬垫专利
据外媒报道,通用汽车向美国专利商标局(USPTO)申请了一项充气式车顶衬垫(inflatableroofliner)专利,可以在翻车时保护车辆乘员。
5.6 安通林——推出颠覆性门板概念 NEXUS
2月29日,汽车内饰技术解决方案供应商安通林(Antolin)推出新车门内板(inner doorpanels)设计NEXUS,助力推动创新理念。安通林旨在为 OEM 提供前卫且智能的解决方案,引领车内移动出行。
(一)乘用车
1.1 悦达起亚——推出 EV5 长续航版
2月1日,起亚EV5 720 长续航版车型正式上市,新车推出 3 款车型,售价区间 18.48-22.58万元。作为新增车型,新车搭载了 88.1kWh 电池,续航里程提升至 720km,进一步降低消费者的用电焦虑,给予消费者更多选择。
1.2 特斯拉——推出中国 2024 款特斯拉 Model Y
2月2日,2024 款特斯拉 Model Y 正式上市,新车推出3款车型,售价区间 25.89-36.39 万元。作为年度改款车型,新车增加了“快银”专属车漆,同时还搭载了全新辅助驾驶硬件
供应链动态
(一)产业链变动趋势
1.1 一汽弗迪——总投资 135 亿元!东北首个新能源车电池基地投产
2月2日,由中国第一汽车集团有限公司和比亚迪股份有限公司合资的一汽弗迪新能源动力电池一期项目在长春市正式投产。该项目是东北首家新能源汽车动力电池战略基地,对推动东北老工业基地汽车产业转型升级和吉林高质量发展意义重大。首批产品将搭载红旗新款纯电动汽车。
1.2 采埃孚——向美国南卡罗莱纳州变速箱工厂投资 5 亿美元
据《美国汽车新闻》报道,德国供应商巨头采埃孚集团计划向其美国的一家变速箱工厂投资 5 亿美元,以将该工厂转变为一家灵活的电动汽车和汽油汽车零部件制造商,并同时为乘用车和商用车生产零部件。
1.3 博格华纳——博格华纳与弗迪电池签订磷酸铁锂(LFP)电池包国际战略合作协议
2月18日,博格华纳宣布与比亚迪公司旗下的弗迪电池签署战略合作协议。根据该协议,博格华纳将成为仅有的一家非汽车制造商、与弗迪电池无隶属关系的本地化生产商,在欧洲、美洲及亚太部分地区拥有使用弗迪刀片电芯为商用车本地化生产 LFP 电池包的权利。该协议有效期为8年。
除了在涵盖的地理区域获得用于生产磷酸铁锂(LFP)电池包的尖端刀片电芯外,博格华纳还将获得弗迪电池授权使用其电池包设计和制造过程相关的知识产权。
1.4 ACC——欧洲汽车电池制造商 ACC 完成 44 亿欧元融资
据路透社报道,目前,欧洲汽车电池制造商 Automotive Cells Company(简称 ACC)宣布完成一轮重大融资,用于在法国、德国和意大利建设三个“超级工厂”。
ACC 将使用这笔资金建设四条新的生产线,其中一条是在法国,一条是在德国凯泽斯劳滕(Kaiserslautern),还有两条在意大利的特尔莫利(Termoli)。去年,该公司已经在法国北部的比利-伯克劳(Billy-Berclau)开设一家生产锂电池的工厂。
1.5 力神电池——推出 160Wh/kg 圆柱钠离子电池,钠电阵营继续壮大
据力神电池官微消息,日前,力神电池推出 160Wh/kg 圆柱钠离子电池。据企业官方资料,该产品的技术优势包括:一、高比能,能量密度 160Wh/ kg ,比第一代钠离子电池提升 10%;二、耐低温,可实现﹣40℃放电容量保持率大于 80%;三、超快充,可实现 5C 快充,充电 12 分钟达到 80%电量;四、高安全,通过 GB38031-2020 安全性能测试。
作为力神电池第二代钠离子电池,其应用领域包括电动自行车、A00 电动汽车以及大规模储能。力神还表示,预期下一代钠离子电池能量密度达到 170-180Wh/kg,快速推动高比能、低成本和高安全钠离子电池产品研发,极大缓解目前锂离子电池普遍存在的原料短缺和快速补能焦虑。
1.6 法雷奥——舒适及驾驶辅助系统生产研发基地落户嘉定外冈
2月22日,据上海嘉定公众号显示,外冈镇与法雷奥集团达成战略合作并签约。法雷奥集团将在外冈工业园区新建“舒适及驾驶辅助系统生产研发基地”,主要包括自动驾驶摄像头、激光雷达、域控制器、芯片绑定等项目的研发与生产。
1.7 蜂巢能源——泰国工厂正式投产,将供应长城及合众旗下在泰新能源车
2月28日,蜂巢能源官宣,其位于泰国的生产基地即日起正式投入生产,主要生产配备 L600 短刀电芯的 LCTP 电池包,满足泰国市场对 A 级车的主流电池需求。
接下来,蜂巢能源泰国工厂将主要供应泰国长城欧拉、哈弗和坦克等车型以及泰国合众新能源汽车使用,并将根据客户订单需求,预计将在今年为当地客户提供超 2 万套 PACK 电池包。
(二)主机厂变动趋势
2.1 比亚迪——与壳牌巴西公司达成充电合作,加速拓展巴西市场
2月2日,比亚迪与壳牌旗下巴西能源公司Raízen Power达成战略合作伙伴关系,计划未来三年在巴西 8 座主要城市建设比亚迪-壳牌电动汽车充电中心,为当地用户提供便捷、高效的充电服务。
2.2 比亚迪——计划在墨西哥新建电动车工厂
据路透社2月14日报道,比亚迪计划在墨西哥建立一家新的电动汽车工厂。比亚迪墨西哥公司负 责人邹舟表示,比亚迪考虑将新的墨西哥电动汽车工厂作为美国和海外市场的“出口中心”。
完整版报告,点击下方网站观看
https://www.apexandconsulting.com/


