在城市能级跃升的宏大叙事中,南通从不缺少惊喜。
近期,南通海门自然资源和规划局传来重磅消息:空港邻里中心及智慧物流项目建设工程设计方案正式公示,这意味着南通新机场核芯辐射区内首个邻里中心项目即将正式开建。
至此,四甲镇三大工程全部进入实质性建设阶段。
在产业与基建高歌猛进的同时,四甲镇的生活配套也在迅速升温。去年11月签约的肯德基&必胜客“双子星”项目也跑出了加速度——仅用一个月便在12月火速进场装修,并于今年农历春节前正式开门迎客。
这一国际知名餐饮品牌的入驻,不仅填补了区域商业空白,更为四甲镇区增添了浓郁的现代生活气息,让这座空港新城更具“烟火气”与“时尚感”。
而随着南通新机场、北沿江高铁等“国字号”重大工程的持续推进,四甲镇正经历着一场脱胎换骨的蜕变,迅速跃升为南通经济版图中的璀璨新星,其发展潜力令无数人歆羡!
▎空港商业邻里中心,规划正式落地
好消息!四甲人心心念念的重量级生活配套——空港商业邻里中心,规划正式公示!
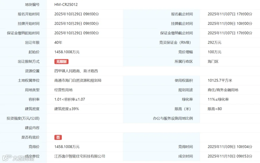
2025年11月9日,江苏逸尔智能住宅科技有限公司成功竞得位于海门区四甲镇人民路南、育才路西的HM-CR25012地块,地块用地面积10125平方米。



▲空港商业邻里中心效果图
以完善的商业配套,为空港片区吸纳产业人才、强化留人能力提供坚实后盾,实现职住平衡与产城共荣。
▎三大工程,四甲镇发展驶入快车道

★空港产业园
作为四甲镇“空港大繁荣计划”的核心驱动力的空港产业园,其建设步伐早已迈开。
今年初,四甲镇规划约200亩,精心打造空港产业园这一创新产业平台。一期工程计划投资5亿元,盘活原合兴油脂厂30亩低效用地,建设以智能装备制造和电子信息为主的科创载体,同时涵盖精密制造、新材料、低空经济等技术含量高、成长性好、产出高的优质产业。

▲空港产业园效果图
这个全新的产业载体尚在建设期,就成功引进奥坤仪表、鼎翰物联等多家企业,基本实现“开园即满园”的建设愿景。
根据官方消息,2026年,四甲镇将在三大工程的基础之上,全力打造空港产业园二期、空港商贸街、江海河联运产业园“新三大工程”,绘就更为壮丽的四甲奇迹。
立体交通网络是四甲镇发展的核心引擎。
去年1月10日,锡通高速海门至通州段通车,从四甲出发直接高速通达南通市区、苏南、上海等地,四通八达的交通格局就此成为现实。
更如虎添翼的是,南通新机场、海门北站等一批世界级重大交通工程再次明确推动建设,四甲“海陆空铁”的立体交通网络枢纽雏形愈发清晰,区位优势迎来史诗级增强!
★南通新机场:

今年年初,南通市委书记吴新明在接受江苏新闻采访时,再次明确:南通新机场将正式开工建设,真正实现与上海、苏南的交通一体化。
不仅如此,南通新机场的建设,在省级层面也至关重要。
2026年1月7日,2026年江苏省交通运输工作会议透露,2026年推动南通新机场项目争取完成可研报告报批。
在2026年省重大项目清单中,南通新机场被列入了储备项目。
就在前两天,1月5日,南通市公共资源交易平台一连发布两份重要公告:《南通新机场配套道路等涉铁节点预留工程项目方案及初步设计项目招标公告》和《海门北站综合交通枢纽项目招标公告》。
这份设计任务书给出了明确时间表:南通新机场计划于2027年全面开工建设。就在同年,沪渝蓉沿江高铁也将全线贯通运营。

★海门北站:
目前,北沿江高铁海门北站主体工程建设正全速推进中。
作为国内最长、最深的地下高铁站,海门北站采用两台六线布局,地下一层为换乘通道,地下二层为高铁站台层,地下三层预留地方城际轨道层,未来将成为集高铁、航空、城轨、地铁、公交、出租车等多种交通方式于一体的大型综合交通枢纽。
海门北站效果图
作为新机场与高铁的“换乘中枢”,海门北站与规划中的南通新机场形成紧密的“空铁联动”格局,通过GTC换乘中心实现无缝联通,未来旅客从海门北站换乘地铁即可直达航站楼,真正实现“空铁无缝换乘”。
总体规划效果图
随着2027年沪渝蓉沿江高铁的开通,这里将成为长三角城际网的“十字路口”,四甲镇必将承接更多长三角区域发展红利,值得期待。
添加下方“韩一哥”
拉你进“南通买房交流群”

- End -

免责申明:1/本文来源南通楼市网,仅供参考。如因阅读文章,对您购房行为产生损失,平台不承担相关责任;如果您继续阅读文章,则视为已知晓认可该声明。2/添加微信nt36511,拉你进买房交流群。

