月销1.2万+的爆款专利,被破解啦!
一个月销1.2万加的爆款产品,其实很简单。

就是一个软绵绵的布包,中间打了一个孔。
这个产品一直都是best seller,而且确实有发明专利,专利时间很久了,不得不说卖得好有专利,生意就会长长久久。
我把它的专利找出来看了一下。
US-8267291-B2 Apparatus for closing gaps 2012-09-18
发明的主要作用:该装置的主要作用是增加驾驶员的安全性并最小化驾驶员分心。它旨在阻止物体掉入汽车前座和中央控制台之间的缝隙中。由于驾驶员在驾驶时可能会执行多项任务,如打电话、使用移动设备、操作GPS设备、吃东西、喝饮料或化妆,这些行为可能会导致物体掉入难以触及的缝隙中。
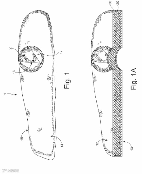
简要描述:该装置包括一个长条形的主体,具有柔软、可塑的特性,可以适应多种汽车型号。它由一个外壳和核心组成,核心被外壳包裹。核心可以由纤维填充物、泡沫、聚苯乙烯珠子、羊毛、棉、聚酯、有机材料或聚合物凝胶等柔软材料制成。该装置的一端有一个纵向的槽,用于在不妨碍安全带组件的情况下,允许装置围绕安全带组件固定。
1.一种用于阻塞汽车座椅附近缝隙的装置,包括一个长条形的主体,具有外壳和核心,核心被外壳包裹,核心具有可塑性。
2.长条形成员的一端有一个纵向的槽,用于围绕安全带组件固定。
3.该装置还可以包括特殊口袋,用于存储如MP3播放器、移动设备等物品。


这个专利的核心结构是产品的一端有一个狭长的孔。
即使你做的是圆形且全封闭的,也有侵权的风险。
但这难不倒广大的中国卖家,大部分卖家都有办法规避。
他们的做法是将孔的一边改成一根带子,或者完全做成半圆形。


只要能套住安全带就可以了,这样就可以避开专利。
很多卖家采用这种方法,而且销量也很不错。
有一个卖家一个月销量达到1,600多,卖得也相当不错。