

10月24日,东阳市白云街道成功出让3宗宅地,3宗地块均由东阳市交通投资建设集团有限公司成功竞得。出让总价233500万元。


成交楼面价
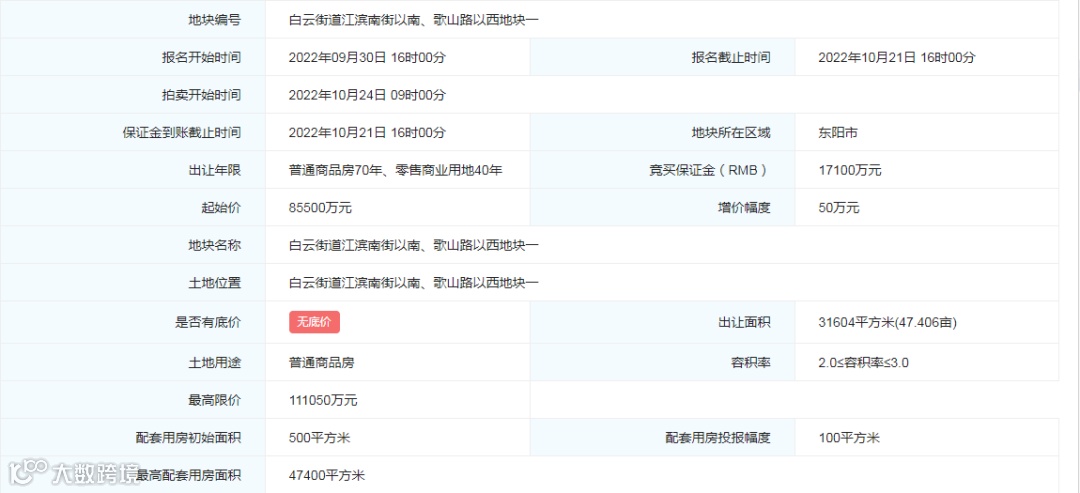
地块一:9018元/㎡
地块二:8739元/㎡
地块三:8931元/㎡
地块位于东阳市白云街道,经过一轮竞拍,该地块由东阳市交通投资建设集团有限公司成功竞得,成交总价85500万元,成交楼面价9018元/㎡。
地块出让面积31604平方米(47.406亩),是本次出让三宗地块面积最大的,土地用途为普通商品房,出让年限:商业40年、居住70年,容积率2.0-3.0(商业容积率0.3-0.5),建筑密度20%-29%,绿地率30%-35%,起始价85500万元。
地块位于东阳市白云街道,经过一轮竞拍,该地块由东阳市交通投资建设集团有限公司成功竞得,成交总价74000万元,成交楼面价8739元/㎡。
地块出让面积28225平方米(42.338亩),土地用途为普通商品房,出让年限:商业40年、居住70年,容积率2.0-3.0(商业容积率0.3-0.5),建筑密度18%-22%,绿地率30%-35%。
地块位于东阳市白云街道,经过一轮竞拍,该地块由东阳市交通投资建设集团有限公司成功竞得,成交总价74000万元,成交楼面价8931元/㎡。
地块出让面积27618平方米(41.427亩),土地用途为普通商品房,出让年限:商业40年、居住70年,容积率2.0-3.0(商业容积率0.3-0.5),建筑密度20%-25%,绿地率30%-35%。
号外!号外!
我们有粉丝群啦
加入我们,发现东阳趣事
不定期发放粉丝福利
举办有趣的线下活动
你也一起来玩呀
🔔🔔🔔
(添加好友小编会拉你进群)
end
来源 | 金华fang天下、土拍行情
校对 | 阿森 Zero
版权归原作者所有,如有侵权请及时联系我们

