企业证书管理主要内容为:企业普通证书、企业电子证书、个人电子证书、证书延期记录、证书到期统计、证书使用管理。
1.企业普通证书

点击企业普通证书,系统将跳转自企业普通证书列表页面。
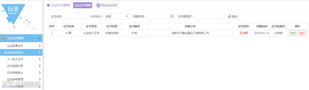
企业普通证书列表首页显示内容为:证书名称、证书类型、证书类别、证书编号、所属公司、证书状态、到期时间、证书管理员。

点击添加企业证书,系统将跳转至添加企业证书信息填写页面。
新添加证书信息填写完成并保存后,可在企业证书管理列表页面查看/修改证书信息。

若证书需要延期,可“编辑”证书添加证书延期记录。
2.企业电子证书

点击企业电子证书,系统将跳转至企业电子证书列表页面。

点击添加企业证书,系统将跳转至添加企业证书信息填写页面。
新添加证书信息填写完成并保存后,可在企业证书管理列表页面查看/修改证书信息。
3. 个人电子证书

点击个人电子证书,系统将跳转至个人电子证书列表页面。

点击添加个人电子证书,系统将跳转至添加个人电子证书信息填写页面。
新添加证书信息填写完成并保存后,可在企业证书管理列表页面查看/修改证书信息。
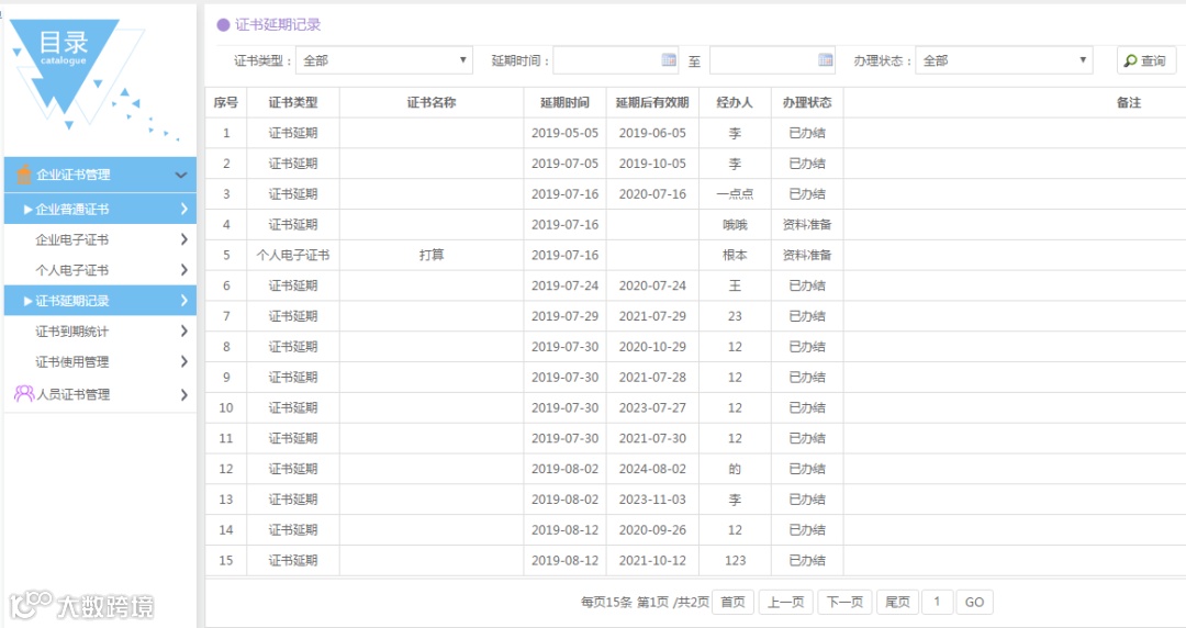
4.证书延期记录

点击证书延期记录,可查看所有办理延期记录的证书延期情况。
5.证书到期统计

点击证书到期统计,可按年、月查看证书情况。
6. 证书使用管理

点击证书使用管理,系统将跳转至证书使用管理列表页面。

点击添加记录,系统将跳转至新增证书使用记录信息填写页面。
新添加证书使用记录信息填写完成并保存后,可在企业证书使用管理列表页面查看/修改证书使用情况信息。
想了解更多关于建筑易的信息
请微信关注
↓·↓·↓·↓·↓·↓·↓·↓·↓·↓·↓·↓·↓·↓·↓·↓·↓·↓·↓
建筑易官方网站:http://www.jianzhuyi.net/
软件体验地址:
http://www.jianzhuyi.info
联系方式
在线客服:2292987313(售前咨询)
3362951235(售后服务)
2180450969(技术支持)
电话:028-69183662

