前言:阿里云服务器运营商对于每一个用户的都是给予了高度的自主管理权限的,是真正做到把权限开发给每一个用户的。您一旦购买了阿里云服务器ECS,那么您就有了这个服务器最高管理权限,能够管理服务器上的一切权限设置、规则设置等。因为在服务器使用时会遇到很多场景是服务器本身默认设置无法满足的,所以需要我们自己设置或者添加相对应规则来实现满足我们需求的条件。
场景:在勤哲Excel服务器软件的使用过程中,为了实现外网的访问,同时兼顾安全性和访问速度,通常客户会选择阿里云服务器作为部署环境。
具体操作步骤:
1.登录阿里云网站,输入账号密码进行登录。

2.点击“控制台”,进入之后选择左侧【云服务器ECS】

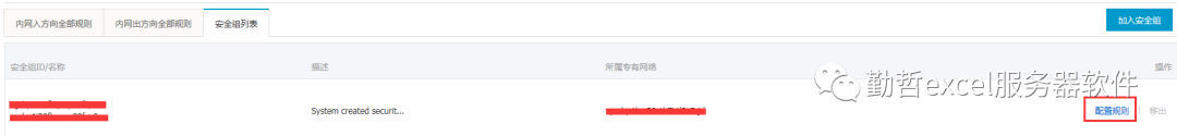
3.点击要选择的服务器,进入服务器实例列表,找到想要增加端口的实例,点击后面的更多,选择网络和安全组--安全组配置


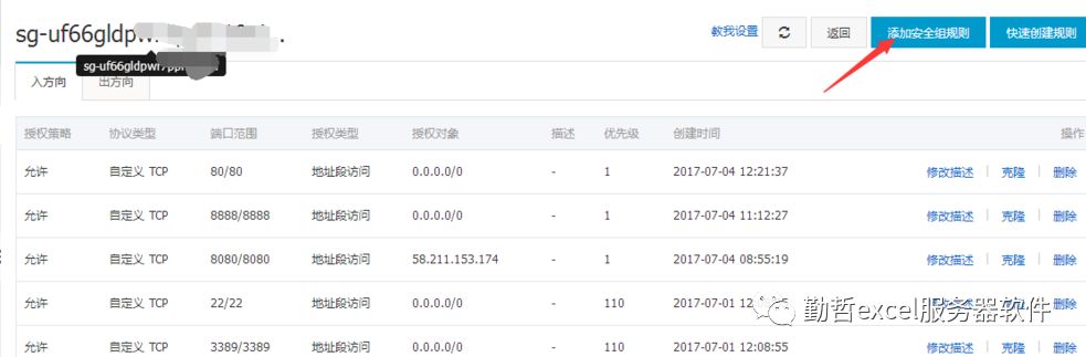
4.在安全组列表中,点击“配置规则”,跳转到如下列表页面,如果想添加新的端口就点击添加安全组规则,如下图



特别说明:端口范围,取值范围从1到65535;设置格式例如“1/200”、“80/80”,其中“-1/-1”不能单独设置,代表不限制端口。授权对象,表示的是允许哪个IP地址进行访问。如果为0.0.0.0/0表示所有用户都可以访问。其中,入方向表示的是访问阿里云的方向,出方向表示的是访问外部服务器的方向。
PS:更多精彩内容请关注本订阅号。使用勤哲Excel服务器的过程当中,遇到各种问题可咨询小编(QQ:1019224211)

