戳蓝字 “选品不侵权”关注我哦!
产品名称
Comb 梳子

专利号:US-D1031151-S
专利发明人:Youmna Mouhamad, Port Talbot (GB)
申请日期:2022-3-8
下证时间:2024-6-11
产品名称
Shoe 鞋子

专利号:US-D1030268-S
专利发明人:Pierpaolo Piccioli, Milan (IT)
申请日期:2022-12-19
下证时间:2024-6-11
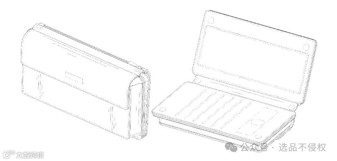
产品名称
Card case 名片盒

专利号:US-D1030311-S
专利发明人:Naoto Takeuchi,Handa (JP)
申请日期:2022-11-30
下证时间:2024-6-11
产品名称
Shower head 淋浴花洒

专利号:US-D1030959-S
专利发明人:Xiaoling Yan, Xiamen (CN)
申请日期:2024-3-25
下证时间:2024-6-1
产品名称
Flying insect trap 捕蝇器

专利号:US-D1030946-S
专利发明人:Zuowo Xie, Cangnan County (CN)
申请日期:2024-2-27
下证时间:2024-6-11
产品名称
Sports bottle 运动水杯

专利号:US-D1030415-S
专利发明人:Rui Wang,Xiangtan(CN)
申请日期:2024-2-20
下证时间:2024-6-11
产品名称
Bag rack 行李架

专利号:US-D1030347-S
专利发明人:Jonathan D. Sill, Delaware, OH (US);
申请日期:2024-2-9
下证时间:2024-6-11
产品名称
Dog bed 狗床

专利号:US-D1031180-S
专利发明人:Nan Zhang,Zhejiang (CN)
申请日期:2024-2-7
下证时间:2023-6-11
产品名称
Beetle toy car 甲壳虫玩具车

专利号:US-D1030915-S
专利发明人:Mingyu Li,Shantou (CN)
申请日期:2024-2-3
下证时间:2024-6-11
产品名称
Toy bubble gun 玩具泡泡枪

专利号:US-D1030902-S
专利发明人:Chaoqun Xian, Shantou (CN)
申请日期:2024-2-1
下证时间:2024-6-11
产品名称
Flat hair clip 扁平发夹

专利号:US-D1031161-S
专利发明人:Lindsay Muscato, Maitland, FL (US)
申请日期:2024-1-29
下证时间:2024-6-11
产品名称
Silicone griddle tools mat
硅胶烤盘工具垫

专利号:US-D1031161-S
专利发明人:Xiejun Quan, Shenzhen (CN)
申请日期:2024-1-26
下证时间:2024-6-11
产品名称
Wire clip 线夹

专利号:US-D1030467-S
专利发明人:Pengxiang Wang, Lianyungang(CN)
申请日期:2024-1-3
下证时间:2024-6-11
产品名称
Phone wallet case 手机钱包夹

专利号:US-D1030732-S
专利发明人:Ying Liu, Shenzhen (CN)
申请日期:2023-12-28
下证时间:2024-6-11
产品名称
Baby night light 宝宝安睡灯

专利号:US-D1031130-S
专利发明人:Shenhui Yi, Shenzhen (CN)
申请日期:2023-12-25
下证时间:2024-6-11
产品名称
Ceiling fan 吊扇

专利号:US-D1031005-S
专利发明人:Yanyang Zhou, Zhongshan (CN)
申请日期:2023-12-19
下证时间:2024-6-11
产品名称
Showerhead 淋浴喷头

专利号:US-D1030958-S
专利发明人:Margaret C. Mazz, Atlanta,GA (US)
申请日期:2023-12-18
下证时间:2024-6-11
产品名称
Cat exercise wheel 猫咪运动轮

专利号:US-D1031187-S
专利发明人:Yu Guo, Henan (CN)
申请日期:2023-11-30
下证时间:2024-6-11
产品名称
Ladder 梯子

专利号:US-D1031090-S
专利发明人:Tingli Cui, Zhejiang (CN)
申请日期:2023-11-15
下证时间:2024-6-11
产品名称
Poultry feeder 家禽饲料器

专利号:US-D1031181-S
专利发明人:Erik Joseph Diedrichsen, WestBridgewater, MA (US)
申请日期:2023-10-10
下证时间:2024-6-11
☟ 点击关注我,选品不侵权❤

