戳蓝字 “选品不侵权”关注我哦!
今天分享一个非常火爆的产品专利,该产品的发明专利是美国公司持有的,2021年已下证;最近中国卖家也注册了外观专利,刚刚下证。老铁们选品的时候要避坑,不要侵权。
一、产品名称:Rolling grilling basket 滚动烧烤篮

二、产品特点及用途:
1、采用食品级304不锈钢。足够坚固,不容易弯曲或断裂。
2、该产品似乎专为美国家庭设计。一次可以装更多的食物。适合后院聚会或家庭聚会。
3、焊接工艺精湛,网面无粗焊。别担心被烤篮弄伤。
4、洗碗机安全使用。篮子可以堆叠在一起,非常方便携带和储存。
5、功能用途多,使用方便,滚动烤篮式,不需要逐个翻转每一块食物。只要简单地一卷,所有的食物就能均匀地煮熟。此外,食物也不会有机会落入火焰中。非常适合烧烤蔬菜条。
三、产品专利信息:
品牌:Grillie
持有人:matthew porraro
官网:https://mygrillie.com/
侵权类型:商标+专利
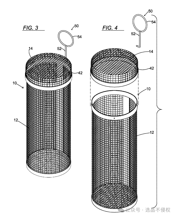
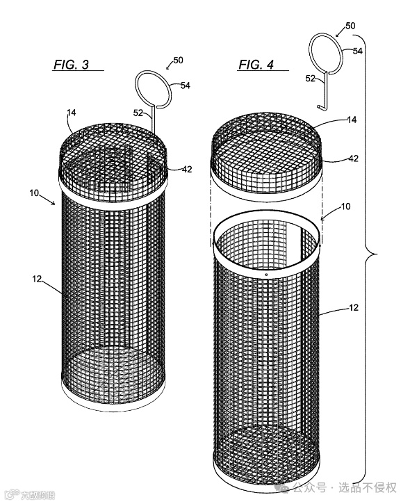
专利:US2021022552A1
专利标题:COOKING APPARATUS

专利说明:一种烹饪设备,包括容器,该容器具有第一端、与第一端相对的第二端、从第一端延伸到第二端的侧壁、位于第一端的开口、位于第二端的端壁,以及帽可拆卸地连接到第一端。侧壁和端壁形成隔间,隔间的尺寸和形状适合接收食物。侧壁包括具有多根金属丝的金属丝网。


(二)外观专利
专利号:US-D1035381-S
申请日期:2023-6-6
下证时间:2024-07-17
预计到期日期:2039-07-17
专利受让人:Shenzhen Haipin Yigou Trading Co.,Ltd.(CN)


以上是我今天的最新专利案例分享,更多最新发布的专利产品,请持续关注公众号每日的动态!
☟ 点击关注我,选品不侵权❤
加选品不侵权交流群请点击链接:是想象中社群的样子--来交流侵权吧!

