
0
0
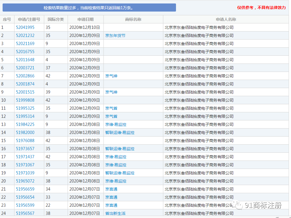
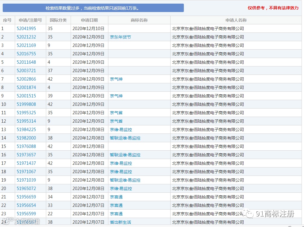
京东关联公司申请 “京气省”、“京气神”商标
91商标注册2020-12-15
0
导读:近日,北京京东叁佰陆拾度电子商务有限公司新增多条“京气省”“京气神”商标信息,国际分类涉及广告销售、运输贮藏
【声明】内容源于网络
0
0
91商标注册
代办全国商标注册18649328082
内容 1353
粉丝 0
总阅读334
粉丝0
内容1.4k

