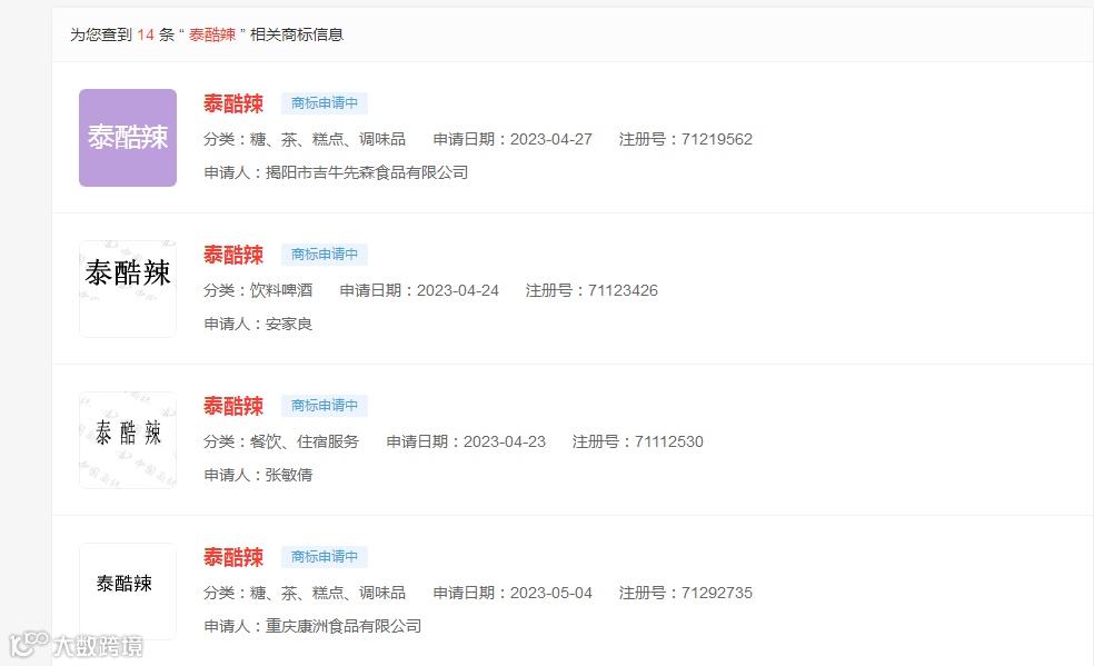
天眼查App显示,近日,喜豆(厦门)文化经纪有限公司申请注册“泰酷辣”商标,国际分类为教育娱乐、餐饮住宿,当前商标状态为申请中。



该公司成立于2020年4月,目前由王英飞全资持股。变更记录显示,王琳凯(小鬼)于去年3月退出股东行列,此前持有该公司90%股份。据悉,“泰酷辣”为“太酷啦”谐音,出自小鬼王琳凯演唱会发言,后成为网络热梗,意指无法表达但又很炸裂的情绪。
本文源自:金融界天眼查
91商标注册天眼查App显示,近日,喜豆(厦门)文化经纪有限公司申请注册“泰酷辣”商标,国际分类为教育娱乐、餐饮住宿,当前商标状态为申请中。



该公司成立于2020年4月,目前由王英飞全资持股。变更记录显示,王琳凯(小鬼)于去年3月退出股东行列,此前持有该公司90%股份。据悉,“泰酷辣”为“太酷啦”谐音,出自小鬼王琳凯演唱会发言,后成为网络热梗,意指无法表达但又很炸裂的情绪。
本文源自:金融界天眼查