

虚拟投影键盘操作电脑在科幻电影中看到比较多,如此炫酷的科技或许觉得离我们太远了。但是一直都有科学家在努力让此项功能成真。外媒消息苹果公司在虚拟投影键盘技术上有所突破。

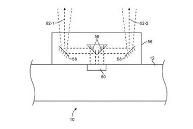
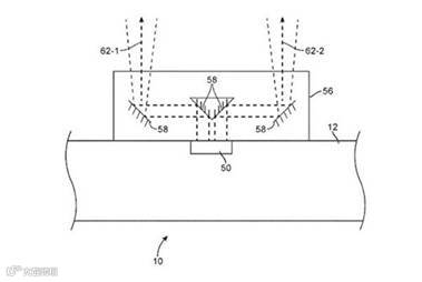
苹果最新申请到的一项编号为9154677最新专利,从专利描述中了解到只要在苹果 设备中加入这样一项投影功能设备,就可以进行打字的动作。如果在笔记本电脑中或是手机中加一个这样投影附件相信虚拟投影键盘为我们带的不仅仅是炫酷,还有 就是工作效率。此外这一项专利还可以进行3D全息投影,在无需配戴眼镜的3D技术,用可以看到立体的虚拟人物 。

苹果公司已有这样的专利相信不久的将来虚拟投影键盘就会来到我们的身边,让科幻不再科幻。让我们拭目以待吧!
来源:中国知识产权资讯网

免责声明:转载自其它媒体,版权归属原作者所有,转载目的在于传递更多信息,并不代表“京达商标注册”网官方声音和立场。网友可通过搜索或长按以下二维码添加关注“京达商标注册”微信公众号与“京达商标注册”就文章内容进行交流、声明或侵删。


