据报道,丁真爆红后,多家与之无关的个人和公司,提交了上百件“丁真”商标注册申请。更甚的,一些人还没拿到商标证,就迫不及待地叫上价了。如此抢注,真能成功吗?《商标法》明确规定,申请商标注册不得损害他人现有的在先权利,也不得以不正当手段抢先注册他人已经使用并有一定影响的商标。此外,“丁真”是真实姓名,而非艺名。根据2017年《最高人民法院关于审理商标授权确权行政案件若干问题的规定》,当事人可主张相关商标损害其姓名权。综合来看,上述商标申请,成功几率几乎为零。

说起来,恶意抢注商标早已不是新鲜事。“傍名人”、“蹭热点”、“搭便车”,注册一大堆与知名品牌相似、近似的商标……种种“碰瓷”行为,搞得各个“正主”苦不堪言,甚至逼得他们绞尽脑汁“山寨”自己,搞起了商标防御。 抢注商标为何大行其道?当然在个“利”字。在一些人看来,商标中的“商机”可真不少。热门商标转让价格不菲,可以囤积起来待价而沽;
、
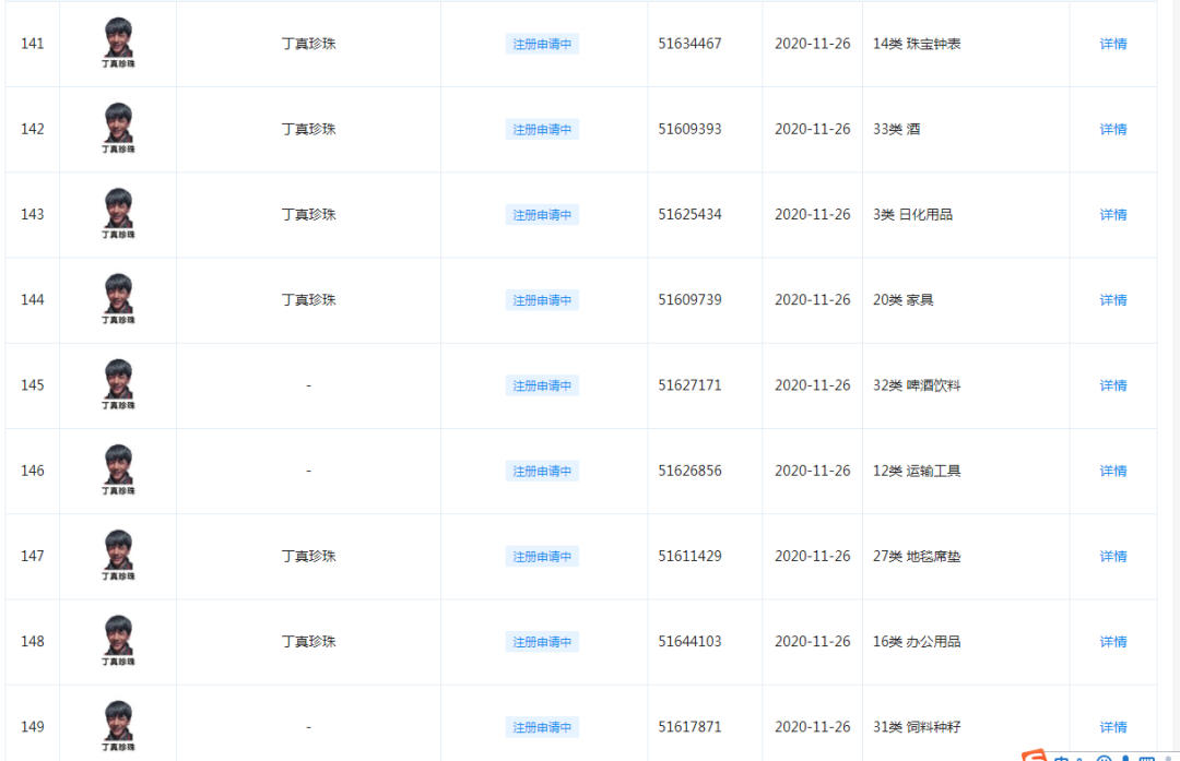
11月中旬,四川理塘小伙丁真因为一段10秒的视频暴红网络,也迅速激起了商标抢注者对“丁真”这一网红的“哄抢”。截至12月13日,一个月的时间,涉及“丁真”的商标申请达到122件,除丁真入职的理塘县文旅体投资发展有限公司申请注册18件“丁真珍珠”商标外,其他申请主体均为与丁真无关的个人和公司。正被申请的这些商标包括丁真小哥、丁真的世界、丁真的微笑、丁真旅游等,也是各显神通。

部分被抢注的“丁真”商标
对于“丁真”商标被抢注,理塘县国有资产经营投资管理集团有限责任公司回应,有些“丁真”商标在2018年就注册了,下一步,公司会把丁真的头像、肖像权等一一申请注册。
据澎湃新闻报道,他们联系了申请“丁真”商标的湖南省玛吉阿米电子商务有限公司,开门见山,该负责人说,“丁真全网有50个亿的曝光”,并表示,申请“丁真”商标是“留着将来用,目前谁要就看对方出的价格”。



澎湃新闻记者暗访未注册的丁真商标转让。澎湃新闻记者 庄岸 图
有意思的是,最开始的聊天中,记者问其丁真商标是否注册下来了,他表示“是的”。报价之后,再问他商标证是否已经拿到,他表示“目前还没有”。他说:“等拿到证,这个价格(18.8万)应该也买不到了。”

澎湃新闻记者暗访未注册的丁真商标转让。澎湃新闻记者 庄岸 图
针对这种病态式的抢注倒卖商标的现象,疫情期间国家执法部门已经严厉打击了一次了。多次明确商标是拿来用的,不是拿来炒的。通过使用而不是注册产生价值,才是商标制度的本质。恶意抢注、囤积商标等行为,明显与保护知识产权的初衷相悖,是急功近利、商业“碰瓷”的短视行为。
免责声明:转载自其它媒体,版权归属原作者所有,转载目的在于传递更多信息,并不代表“京达商标注册”网官方声音和立场。网友可通过搜索或长按以下二维码添加关注“京达商标注册”微信公众号与“京达商标注册”就文章内容进行交流、声明或侵删。
