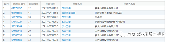
据中国商标网显示,近日农夫山泉股份有限公司再次申请注册“农夫三拳”商标,国际分类涉32类啤酒饮料。
据悉,此前该公司已经申请了4次“农夫山泉”商标,但是均被驳回。目前“农夫三拳”商标已经被深圳一家科技公司以及三个自然人成功注册。

目前看来,农夫山泉此次申请“农夫三拳”商标也不会很顺利,毕竟与先注册的商标近似是商标注册过程中的一大难题。
有网友看到农夫山泉此举觉得很可笑,有人表示“农夫三拳,有点疼”,还有的人戏称“要不换个农夫三拳分泉试试”。
其实从企业的商标布局来看,这些商标注册是必行之举,大企业在商标注册上可毫不含糊。
此前阿里巴巴有阿里爷爷、阿里奶奶、阿里叔叔、阿里姐姐、阿里妹妹、阿里哥哥、阿里弟弟等阿里系商标家族。

另外老干妈也有老干爸、老干娘、干儿子、干女儿等商标,反正商标也不一定要有血缘关系。
相比前两个,星巴克注册起商标来,只能用丧心病狂来形容,他们也许翻遍了新华字典,例如:星吧克、巴克星、巴星克、辛巴克、辛巴客、新巴特......
受够了山寨的痛,所以企业注册这些商标也是理所应当。
在商标的世界里,如果没有注册认证,那么这个商标就得不到相关的权益保护。一旦被抢注了,商标就无法继续使用,还会给企业造成无形的损失。


如需转载请务必注明出处:快科技
责任编辑:鹿角

