
说到虎牙,大家应该都不陌生,只要是会看直播的人,那么斗鱼、虎牙这两家就是绕不开的话题。

两家同时受到腾讯的投资,直播业务竞争无比激烈,经常可以听到XX主播从斗鱼跳槽到虎牙,或者从虎牙跳槽到斗鱼的新闻。
前段时间,有比较靠谱的传闻称腾讯已经与两家商谈完毕,斗鱼虎牙将会进行合并。
而合并后的斗鱼将成为虎牙私有全资子公司,斗鱼将退市,此后合并的公司将以“虎牙”的名义继续运营。

最终的结果我们不得而知,但“虎牙”就等于“虎牙直播”,却几乎已经是很多人心中的代名词。
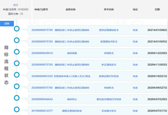
然而,“虎牙”这个商标,却并不一定完全属于“虎牙直播”!这场关于“虎牙”商标的争议,已经长达10年。
早在多年前,杭州虎牙广告有限公司(杭州虎牙)就将广州虎牙信息科技有限公司(虎牙直播)告上了法庭,而这起案件最新进展是,经过最新的证据交换,2021年1月29日,也就是明天,将正式开庭审理,我们不妨先将来龙去脉捋一遍。

根据公开资料的显示,杭州虎牙成立于2010年2月,公司经营范围为广告设计;企业形象策划;市场营销策划;图文设计制作等。

杭州虎牙在2010年4月在国际分类35类,申请了“虎牙”商标注册,并在2011年4月注册成功,专用权期限从2011年4月21日至2021年4月20日。

而虎牙直播于2014年上线,其最早在2016年9月在其他分类申请“虎牙”商标,此后在各个分类中分别进行商标群注册。

然而,由于在35类上,杭州虎牙早已完成注册,所以虎牙直播在“广告服务类别”的35国际分类上,被法院宣告“商标无效”。


然而,作为直播服务公司的虎牙直播,其广告服务是不可规避的一部分。由此,杭州虎牙也以商标侵权和不正当竞争为由将虎牙直播告上法庭。
通过检索还可以发现,目前,虎牙直播已经注册了多达600件“虎牙”或虎牙相关商标。

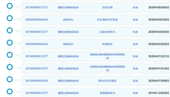
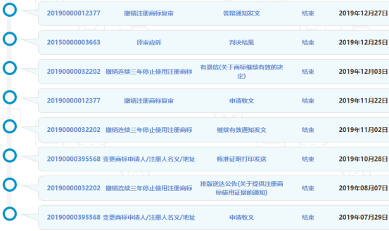
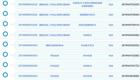
而杭州虎牙的第8182425商标却几经波折,从被撤销到白驳回到被诉讼经过了漫长的好几年评审,并经历了中、高、最高级法院的诉讼。按照目前状态,其虎牙35类商标8182425被宣告为无效。







究竟是一方“薅羊毛”,还是另一方“仗势欺人”?“虎牙”商标的10年之争将会是什么结果?目前只能等待明天杭州滨江法院的审理结果。
这也再度警醒企业家们,及时做好商标布局,构筑好商标的护城河,不仅是为了维护企业自身的品牌形象,更是为了让企业的市场拓展更加顺畅。如何通过有效的知识产权管理,保护企业的品牌价值,提升企业的竞争力是企业主们必须时刻警醒的问题。
(本文仅代表作者观点,本号对文中内容保持中立。)

