搜索
首页
大数快讯
大数活动
服务超市
文章专题
出海平台
流量密码
出海蓝图
产业赛道
物流仓储
跨境支付
选品策略
实操手册
报告
跨企查
百科
导航
知识体系
工具箱
更多
找货源
跨境招聘
DeepSeek
首页
>
商标三年不用就要被撤销?
>
0
0
商标三年不用就要被撤销?
白兔商标注册
2022-08-29
1
最近
听小伙伴们
说了一件稀奇事儿
挺好玩的
跟大家分享一下
华中科技大学都知道吧,位于武汉的一所重点大学,他们出于知识产权保护的角度,注册了“华中科大”“华中大”等等多个商标。
故事说到这里呢
一切正常
华中科技大学注册这些商标也很正常
妥妥的自己学校名称保护嘛
现在!
反转来了!
2019年10月
一家物流公司竟然向国家知识产权局
申请撤销华中科技大学注册的4件商标!
这4件商标分别是:
1、“华中科大”商标在第35类“广告宣传”等全部核定使用服务上的注册
2、“华中大”商标在第39类“货运递送”等全部核定使用服务上的注册
3、“华中大”商标在第35类“组织技术展览”等全部核定使用服务上的注册
4、“华中科大”商标在第39类“货运递送”等全部核定使用服务上的注册
什么意思呢?
就是这家物流公司的申请一旦通过,华中科技大学注册的这4件商标就会被撤销,学校就不能再使用了,而其他公司也可以对这4件商标重新注册。
什么个意思?
人家学校根据自己学校名注册的商标
你凭什么申请撤销?
说不过去啊!
来看下
这家物流公司的申请理由
物流公司认为,华中科技大学连续3年都没有使用这4件商标
根据《商标法》的规定,注册商标成为其核定使用的商品的通用名称或者没有正当理由连续三年不使用的,任何单位或者个人可以向商标局申请撤销该注册商标。
难道
华中科技大学就要从此失去
这些商标了吗?
事情没有这么简单!
接到申请以后,国家知识产权局立刻要求华中科技大学在收到通知后2个月内提交商标使用的证据材料,或者证明存在不适用的正当理由。
律师团队帮助学校政策法规办公室积极应对,调取商标使用证据,分析高校商标使用特殊性等。
学校提交给国家知识产权局的答辩文件中,列举了2016年至2019年3年中“华中科大”等商标使用的证据。
这也就是说,在这3年里,他们并非完全没有使用过这4件商标。
因此,撤销这4件商标与国家对商标3年不用撤销的立法本意相违背。
最终,2020年6月,华中科技大学收到了国家知识产权局4决定,驳回上述物流公司撤销申请,维持了4件商标的有效性。
这起案子里
华中科技大学守住了自己注册的商标
但并不是每次高校商标撤三案
高校都能守住自己的商标哦
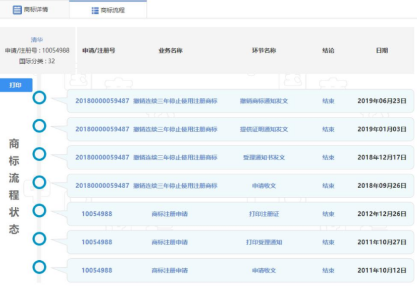
比如,清华大学注册的32类“清华”商标就被撤销了,原因也同样是“商标连续三年不使用”!
同样是商标撤三案
为什么华科大就能守住自己的商标
而清华大学却没守住?
其实原因很简单,华中科技大学能够提出3年内涉案商标的使用证明,而清华大学却真的在3年里完全没有使用这些商标。
可见,即使是知名高校、驰名商标,如果没有精心维护好自己注册的商标,做好商标管理,在法律法规面前也同样会吃亏。
商标知识小课堂:
商标撤三是个啥?
商标撤三是个啥?商标撤三是一种注册商标撤销处理程序,是指已经注册的商标没有正当理由且连续三年不使用而被他人依法提出撤销商标申请。
为什么会出现商标撤三?
根据《商标法》 第四十九条第二款 规定:“注册的商标没有正当理由且连续三年不使用的,任何单位或者个人可以向商标局申请撤销该注册商标。”其目的是清除闲置商标,避免浪费公共资源。
如何应对防御商标被“撤三”?
可以从两个方向应对:
①提供该商标未使用的正当理由
②提供该商标的使用证据
(一)商标未使用的正当理由
《商标法实施条例》第六十七条规定:“下列情形属于商标法第四十九条规定的正当理由:(一)不可抗力;(二)政府政策性限制;(三)破产清算;(四)其他不可归责于商标注册人的正当事由。”
(二)防御商标的日常使用管理
(1)广告使用:广告宣传的形式有①在报纸、刊物、电视、广播、灯箱、路牌、大型户外设施等传统广告媒体上进行宣传推广;②在互联网平台上进行的宣传推广。
商标进行广告宣传时,应当及时保留好包含完整商标、能够与具体商品联系的广告宣传资料,如网页链接、视频、杂志、照片、签订的协议、开具的发票等。这种广告使用成本低、造价低、手续简单,是使用防御商标最简单的办法。
(2)许可给他人使用:防御商标可以许可给他人使用,为保证其法律效果,应做好“商标使用许可备案”,留存“商标使用许可合同”,同时要求被许可方提供使用证据,并保留。
(3)图形商标登记版权使用:若防御商标为图形,可以进行版权登记,图形登记版权后,即使一直未投入使用,也不用担心“撤三”的问题,并且他人在后的相同商标申请会侵犯在先版权。
(三)应急补救措施
如果防御商标被提出撤三申请时,既没有正当理由,又没有使用证据,可以采用循环注册该商标,同时积极进行答辩,从而不给他人可趁之机。
来源:武汉市场监管
【声明】内容源于网络
0
0
白兔商标注册
公司主要为国内外企事业单位、社会团体及个人提供专业的商标及相关的法律服务,内容涉及代理国内外商标查询、注册、续展、转让、变更、商标异议和答辩、商标许可使用合同备案以及商标侵权纠纷案件等。
内容
3404
粉丝
0
立即咨询
关注
白兔商标注册
公司主要为国内外企事业单位、社会团体及个人提供专业的商标及相关的法律服务,内容涉及代理国内外商标查询、注册、续展、转让、变更、商标异议和答辩、商标许可使用合同备案以及商标侵权纠纷案件等。
总阅读
180
粉丝
0
内容
3.4k
立即咨询
关注