
近日,知协惊奇的发现,有一家企业居然在今年4月份提交申请了“五星红旗”、“主席”、“台湾”等商标!
业内不少人表示,但凡懂点法律,咨询一下商标代理,都不会干出这种事啊!我们一起来了解一下。
商标申请神操作
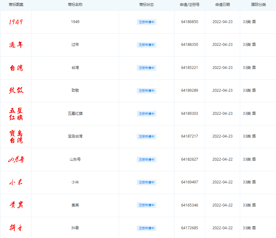
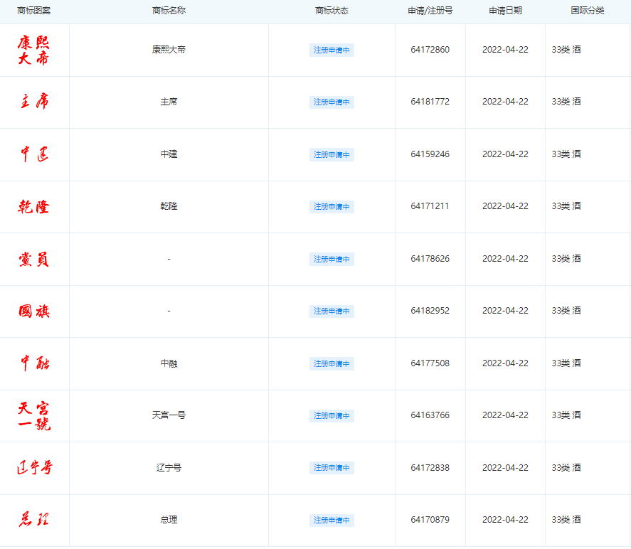
根据查询,这家企业在4月22日和4月23日共提交了25件商标申请,商标类别均为33类-酒相关的商品。
但是商标名称实在不一般,包括“五星红旗”、“台湾”、“宝岛台湾”、“1949”、“过年”、“致敬”、“国旗”、“国宴”、“党员”、“康熙大帝”、“乾隆”、“主席”、“总理”以及“天宫一号”、“辽宁号”、“山东号”等。
此外,这家公司还申请了“华为”、“小米”、“抖音”等其他知名企业的名称……这些商标文字还都是大红色字体!
稍微懂点《商标法》的人应该都知道,这些标志基本不可能通过核准注册。
先不说“主席”“总理”“国旗”这种与国家相关的,是不得作为商标使用的,就说“国宴”这种“国”字开头的商标,申请下来也是十分难的。之前茅台曾为注册“国酒”商标,前后耗时十几年,最终也未能注册成功!
该公司这一波神操作,也不知道是真对商标法不懂,还是故意的?能给他带来啥?实在费解……
哪些标志不能注册商标?
《商标法》第十条规定,下列标志不得作为商标使用:
(一)同中华人民共和国的国家名称、国旗、国徽、国歌、军旗、军徽、军歌、勋章等相同或者近似的,以及同中央国家机关的名称、标志、所在地特定地点的名称或者标志性建筑物的名称、图形相同的;
(二)同外国的国家名称、国旗、国徽、军旗等相同或者近似的,但经该国政府同意的除外;
(三)同政府间国际组织的名称、旗帜、徽记等相同或者近似的,但经该组织同意或者不易误导公众的除外;
(四)与表明实施控制、予以保证的官方标志、检验印记相同或者近似的,但经授权的除外;
(五)同“红十字”、“红新月”的名称、标志相同或者近似的;
(六)带有民族歧视性的;
(七)带有欺骗性,容易使公众对商品的质量等特点或者产地产生误认的;
(八)有害于社会主义道德风尚或者有其他不良影响的。
县级以上行政区划的地名或者公众知晓的外国地名,不得作为商标。但是,地名具有其他含义或者作为集体商标、证明商标组成部分的除外;已经注册的使用地名的商标继续有效。
第十一条 下列标志不得作为商标注册:
(一)仅有本商品的通用名称、图形、型号的;
(二)仅直接表示商品的质量、主要原料、功能、用途、重量、数量及其他特点的;
(三)其他缺乏显著特征的。
前款所列标志经过使用取得显著特征,并便于识别的,可以作为商标注册。
综上,各位申请人提交商标申请之前,建议多了解《商标法》或咨询商标代理机构,降低风险,提高注册成功率!
文章来源:32知协

