
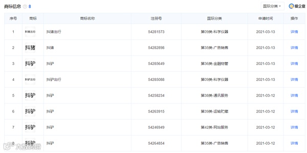
近日,第 54285649 号“抖驴”商标准予注册的文书公开。文书显示,北京字跳网络技术有限公司对京杭(温州)科技有限公司申请的“抖驴”商标提出异议。国家知识产权局经审查认为,被异议商标“抖驴”指定使用于第 38 类“保险信息;保险经纪”等服务上。异议人引证在先注册的第 21879720 号、第 47878995 号“抖音”等商标核定使用于第 9 类“计算机程序 (可下载软件) ;已录制的计算机操作程序”等商品上。双方商标指定使用商品的功能用途、服务的内容特点等方面存在一定区别,不属于类似商品或服务,因此双方商标未构成使用于类似商品或服务上的近似商标。

此外,“抖驴”与异议人部分引证在先注册的“抖”“抖音”商标在文字构成、呼叫等方面具有一定差异,未构成近似商标。
因此,被异议商标的注册使用一般不会造成消费者的混淆,国家知识产权局对第54285649号“抖驴”商标准予注册。
据了解,京杭(温州)科技有限公司还注册了“抖猪”“抖猪出行”“抖驴出行”等商标。

新闻来源:商标案例


