经国家不懈努力,9月25日晚,孟晚舟在结束被加拿大方面近3年的非法拘押后,乘坐中国政府包机抵达深圳宝安国际机场,顺利回到祖国。

自2018年12月1日被非法拘留,经历1028个日夜,孟晚舟背靠强大的祖国和万千人民的支持,终于回到了祖国!

高兴之余,接下来孟晚舟还需要应对很多问题!譬如,自2018年12月5日孟晚舟被捕消息放出后,就有人盯上了“孟晚舟”及相关商标!
以下仅探讨2018年12月5日以后,可能涉及“蹭名”“蹭热点”抢注行为的商标。
一、“孟晚舟”商标
查询企查查信息显示,从2018年12月14日开始,第一个“孟晚舟”商标被人抢注商标,到目前为止一共4个“孟晚舟”商标申请信息。目前这些商标都处于“商标无效”状态!

至于无效原因,显然它们侵犯了知名人物的在先权利——“姓名权”。
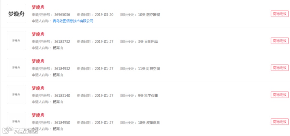
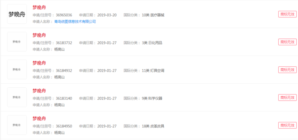
二、“梦晚舟”商标
“孟晚舟”行不通,有人开始打“梦晚舟”的主意!查询2018年12月以后,“梦晚舟”商标被申请达16个,其中8个商标处于“注册申请中”,5个商标被无效,还有两个竟已申请成功!

注册申请中

商标无效



注册成功
同样的商标名不同的结局,显然商标审查是有主观因素的,且遵循个案审查原则!两个成功注册“梦晚舟”商标,分别涉及第43类餐饮注册和第33类酒类别,商标专用权日期都是2019-08-07 至 2029-08-06。
这不得不重视!毕竟“梦晚舟”还是很容易被人联想到孟晚舟,容易引起混淆。孟晚舟及华为应有所措施应对才好!
三、萌晚舟、孟婉舟、梦晚周、梦晚洲、梦碗粥
“梦晚舟”还不够,蹭名的套路从来都是没有界限的,三个字任意换一到两个同音字,抢注走起!比如“萌晚舟、孟婉舟、梦晚周、梦晚洲”商标,甚至还有人申请“梦碗粥”、“梦碗粥米”商标。

萌晚舟、孟婉舟、梦晚周、梦晚洲相关商标


梦碗粥相关商标9个,其中8个已无效
四、晚舟早归、晚舟归来、巾帼晚舟
蹭名就要脑洞大,前边换字文章做完了,还有加字的“文章”!晚舟早归、晚舟归来、巾帼晚舟商标均有注册申请。

孟晚舟说:“个人命运、企业命运和国家的命运十指相连,祖国是我们最坚强的后盾。”
站位高,立意才远。每次热点事件后,总有一些投机分子瞄准热点抢注商标,站在“小我”的角度,不考虑是否侵犯他人的利益,不考虑企业与品牌的长远发展!事实上,傍名牌、蹭热点、抢注商标等行为,可能获得一时流量,如果不能注重品牌运营,没有考虑长远发展,那么品牌最终不过是昙花一现,搬石砸脚!

