2020年春节是个不一样的春节,因为疫情的影响,大家外出需要佩戴医用口罩。3M口罩是口罩中比较常见一款,3M是一个商标名字,也是一个公司名字。

全球性的多元化科技企业。
3m为国际公认的研发领域的企业先驱。我们生产数以万计的创新产品,在医疗产品、高速公路安全、办公文教产品、光学产品等核心市场占据领导地位。3m的成功是基于对多个卓越科技平台的开发和交互使用来满足现实社会中广泛市场领域的客户需求。3m承诺为全世界的人们提供更加方便、更加美好的生活方式。网址:https://www.3m.com.cn,3M高曼无痕随心挂
3M公司创建于1902年,总部设在美国明苏达州的圣保罗市,是一家以创新著称的多元化企业。110年来,3M的产品已深入人们的生活,从家庭用品到医疗用品,从运输、建筑到商业、教育和电子、通信、汽车等各个领域。现代社会中,世界上有50%的人每天直接或间接地接触到3M公司的产品。

3M公司成立于1902年,最初是一家采矿企业,随后逐步发展成为一家多元化科技创新企业。100多年以来,3M开发了近7万种产品,覆盖家庭用品、医疗用品、运输、建筑、商业、教育、电子和通信等诸多领域。随着新型冠状病毒的蔓延, 广大人民群众疯狂购买口罩,3M公司也因“口罩”走红了,大家都以为3M公司主营口罩,殊不知口罩只是3M公司众多产品中的冰山一角。


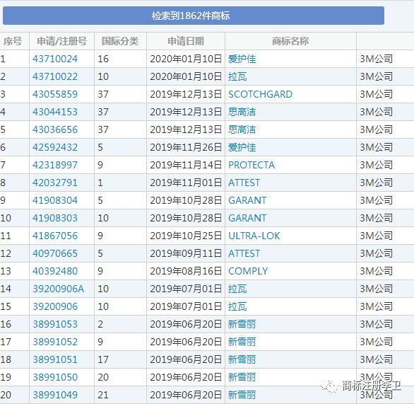
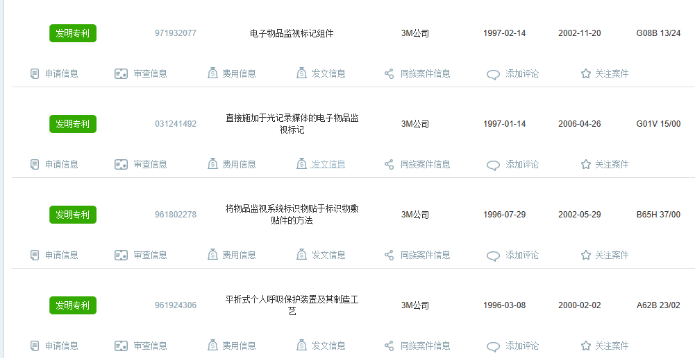
3M公司除了10类医用口罩,5类消毒液,9类护目镜,防护衣等商标,还有其他类别大量商标和专利截止至目前,3M公司共开发了近7万种产品,拥有了10万项专利,相当于平均每天研发1.7个新产品。作为一家跨国企业,3M知识产权保护意识非常强,值得广大企业学习。




现代科技不断进步,商品的技术含量越来越高,商品越来越趋向于同一化,加上产品的复杂程度加大,消费者几乎无法对商品的质量进行直接的判断。由此,消费者开始从对商品的直接性评价转向依靠对商标知名度、美誉度认同的间接性认知,这就使得商品的商标成为了引导消费者了解和选购商品或服务的主要依据。


当今社会,品牌战愈发激烈,商标是品牌无形的保护手,是企业保驾护航的有力武器。因此,企业在日常经营的过程中,应当积极提高知识产权意识,重视商标注册,做好相应的商标布局。商标只要好好经营,有一天它的价值也许会超乎你的想象!就如可口可乐公司总裁说的:即使一把火把可口可乐公司烧的分文不剩,公司仅凭“可口可乐”这一驰名商标,就可以在几个月之内重新建厂投资,获得新发展。

随着时间的推移,商标将更具有价值。当你的事业名望越来越大,你的品牌价值也越来越高。有时,相较于企业核心竞争力而言,商标更彰显企业的价值,因为商标能让企业从单一领域转换至其他特定领域。2020年知识产权保护请提前准备,无论是商标、专利还是版权等,它将会在某一天某个地方给您带来意想不到的收获!


