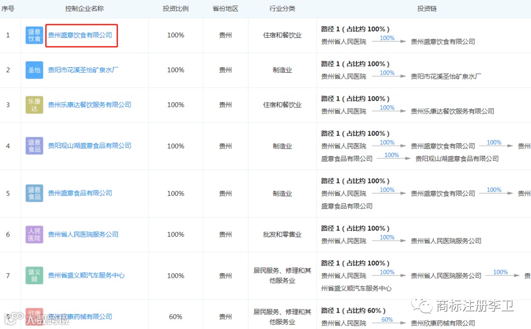
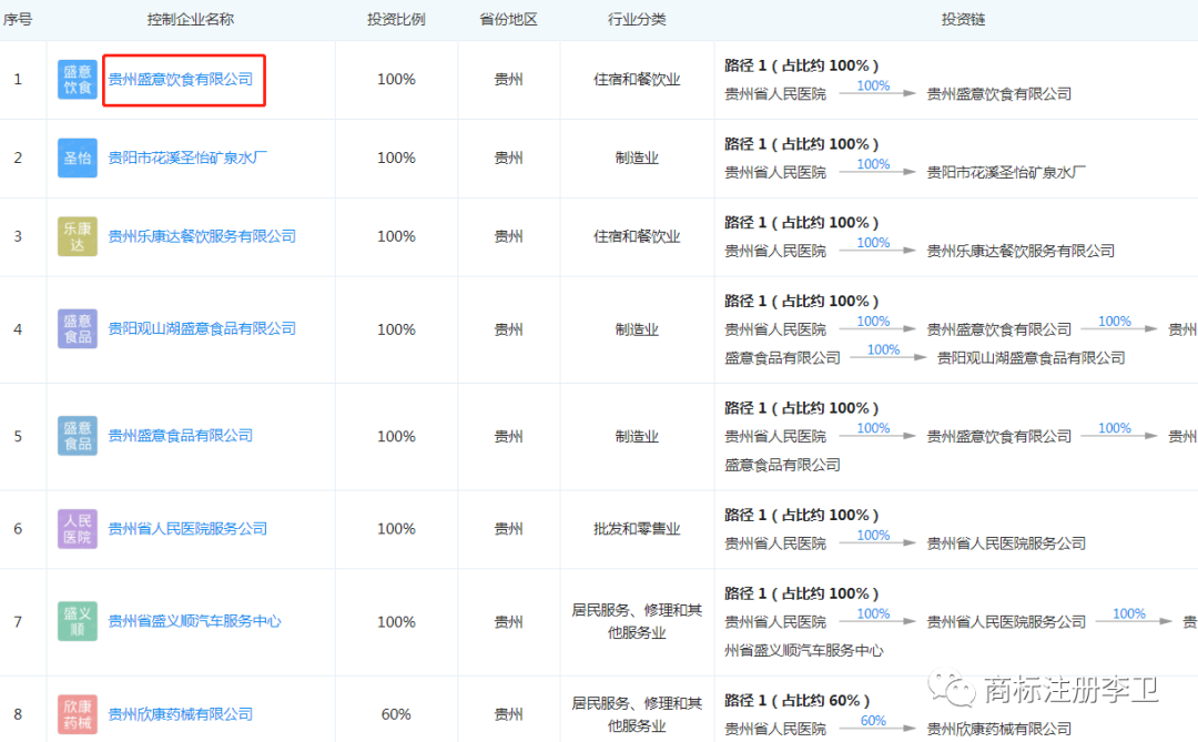
首先,看一下“贵州省人民医院”独特的内涵。


其次,重点来了省医月饼,盛意月饼,一家三甲医院,既能够治好病患,又能给你做好吃的饭菜,还能烤月饼,确实很可爱呢!

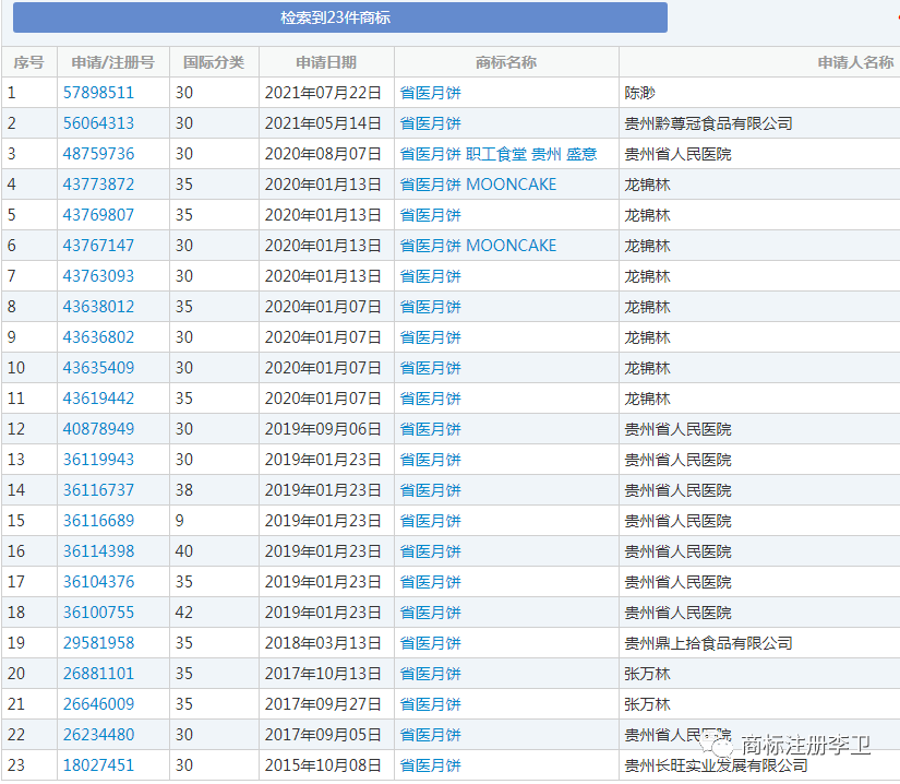
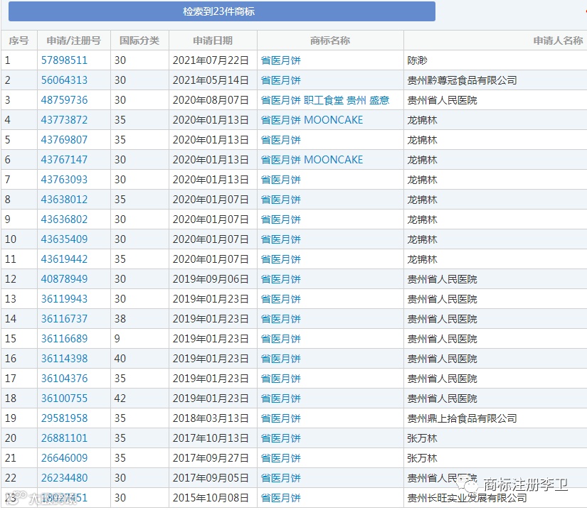
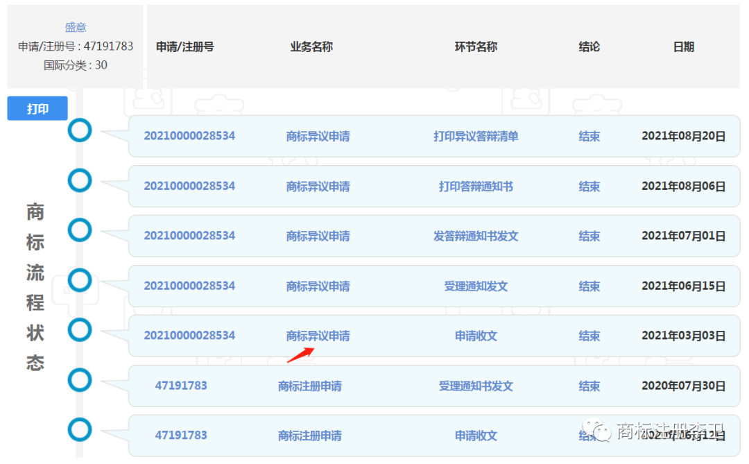
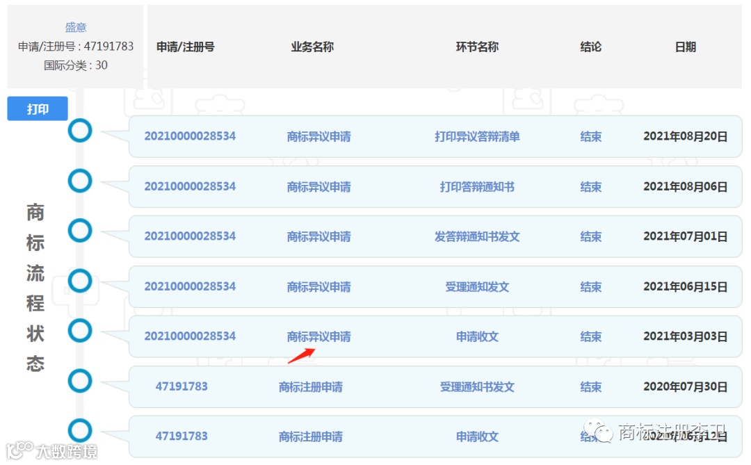
省医月饼,对于品牌的执着我们是看到了。2017年申请没有成功,19年又申请被驳回了,目前正在驳回复审中。


2020年又注册“省医月饼 职工食堂 贵州 盛意”品牌。




省医月饼源于2000年
贵州省人民医院职工食堂糕点房
起初只作为医院医生和护士
中秋节内部专属福利
由于口味绝佳用料十足
历经二十余年口碑积淀
现已在贵州成为了明星产品
二十年来省医月饼
一直被模仿,从未被超越
假冒山寨越多
越能说明其美味与知名度
如今省医月饼正式更名为盛意月饼
并采用了防伪码盒装销售
目前为止,“省医月饼”正在驳回复审中,“盛意月饼”是被贵州黔尊冠食品有限公司注册了,正在被异议中。“贵州省人民医院”明星品牌路还很长很长,我们拭目以待,上线了新防伪码(三维码)是为了防伪。

点分享

点收藏

点点赞

点在看

