大数跨境
0
0

杭州宇树科技有限公司(企业实力)

杭州宇树科技有限公司(企业实力) 商标注册李卫
2025-02-24
2
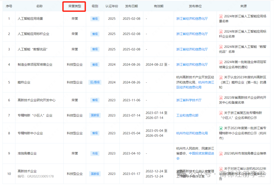
首先: 看一下杭州宇树科技有限公司企业情况。
企业属于 1、C轮   2、高新技术企业  3、科技型中小企业  4、专精特新“小巨人”企业   5、瞪羚企业  6、人工智能应用场景  7、人工智能应用标杆企业   8、人工智能“数智优品”  9 、制造业单项冠军培育企业  10、准独角兽企业  11、创新积分500企业  12、高新技术企业研究开发中心等。
1、C轮当前轮次:C轮
融资金额:数亿元人民币
部分融资:1、C轮 数亿元人民币 2、B+轮 约10亿元  3、B轮 数亿元 4、A轮 约千万美元  5、Pre-A轮 数千万元...
投资方:上海科创中心贰号私募投资基金合伙企业(有限合伙),中信证券投资有限公司,北京中关村科学城科技成长投资合伙企业(有限合伙)北京机器人产业发展投资基金(有限合伙),厦门红杉雅恒股权投资合伙企业(有限合伙),广州琥珀安云二期创业投资合伙企业(有限合伙),成都龙珠股权投资基金合伙企业(有限合伙),祥峰荣晟(厦门)管理咨询合伙企业(有限合伙)。
 2、高新技术企业  级别:国家级
定义:在《国家重点支持的高新技术领域》内,持续进行研究开发与技术成果转化,形成企业核心自主知识产权,并以此为基础开展经营活动,在中国境内(不包括港、澳、台地区)注册的居民企业。
 3、科技型中小企业 级别:省级
定义:是指依托一定数量的科技人员从事科学技术研究开发活动,取得自主知识产权并将其转化为高新技术产品或服务,从而实现可持续发展的中小企业。
4、专精特新“小巨人”企业  级别:国家级
定义:是专精特新企业中的佼佼者,是专注于细分市场、创新能力强、市场占有率高、掌握关键核心技术、质量效益优的排头兵企业。
5、瞪羚企业 级别:区/县级
定义:一般指创业后跨过死亡谷以科技创新或商业模式创新为支撑进入高成长期的中小企业。 其他荣誉证书📚定义就不一一列举。
杭州宇树科技有限公司
截止2025年02月24日知识产权
商标信息495个
专利信息184个
作品著作权17个

结语:知识产权助力企业腾飞,赋能实体经济发展

春晚播出后,宇树机器人大

日租金高达1.5万元,二手被炒至12万元。

据九派新闻报道:2月18日,宇树科技一销售负责人表示,春晚过后,人形机器人销量需求飙升,“未来四足机器人降到三四千元的问题不大”。

期待宇树机器人,飞入寻常百姓家。

【声明】内容源于网络
0
0
商标注册李卫
我是李卫当官:专注【商标注册、变更、转让、续展、撤三、异议、无效、驳回复审等】条形码、LOGO设计、版权、AAA认证、ISO体系、各行许可证、ICP/EDI电信许可证、建筑资质、产品防伪码、有机产品、绿色食品、域名注册、商标专利转让十余年。
内容 276
粉丝 0
商标注册李卫 我是李卫当官:专注【商标注册、变更、转让、续展、撤三、异议、无效、驳回复审等】条形码、LOGO设计、版权、AAA认证、ISO体系、各行许可证、ICP/EDI电信许可证、建筑资质、产品防伪码、有机产品、绿色食品、域名注册、商标专利转让十余年。
总阅读9
粉丝0
内容276