
安信可VC系列离线语音模组,采用云知声方案,在语音识别技术上不断优化和创新算法,离线识别算法与芯片架构深度融合,为客户提供超低成本的离线语音识别方案,可广泛且快速应用于智能家居,各类智能小家电、86盒、玩具、灯具等需要语音操控的产品。
具体的性能:
· 支持唤醒词自学习(意思是不用编程就可以增加唤醒词)
· 支持中英文(不同固件)
· 1~5m 远场 90%识别率
· 支持RTOS轻量级系统
· 支持GPIO控制,UART、IIC、SPI等通讯协议
· 支持串口升级
一、使用前准备
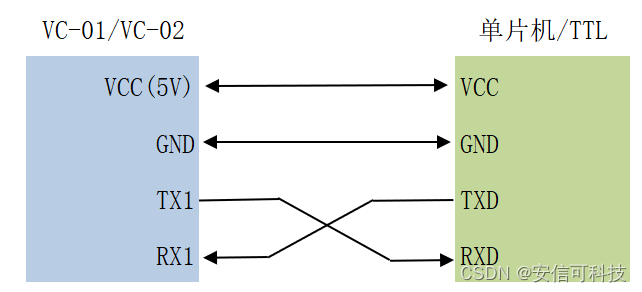
1. 通讯接口
如果是使用模组进行串口连接的话,建议使用如下接口进行通讯:RX1、TX1。
VC-01和VC-02共用一款开发板:
3. 烧录说明
VC系列一共有两种烧录方式:· JTAG调试器烧录
JTAG调试器烧录方式,是使用专用的JTAG调试器,烧录完整的固件,使用的软件是:UniOneDownloadTool.exe, 一般固件的文件名为:uni_app_release.bin
· 串口烧录
串口烧录的方式使用TTL模块进行固件升级,对模块没有任何要求,使用的软件是:UniOneUpdateTool.exe,一般固件的文件名为:uni_app_release_update.bin
两种烧录方式会在下面进行详细的介绍。
JTAG 烧录方式只能使用专用的JTAG调试器,不支持使用J-link等调试器烧录。
连接好之后,把调试器插入电脑(调试器需要安装驱动,安装教程请看:
Hummingbird-M-Production-Tool/M_Download_Tool_User_Guide.pdf),打开UniOneDownloadTool.exe:
串口烧录的接线和通讯方式的接线相同,没有特别要注意的。最重要的是所烧录的固件有些要求:
烧录工具只能使用:UniOneUpdateTool.exe
二、模组出厂固件使用
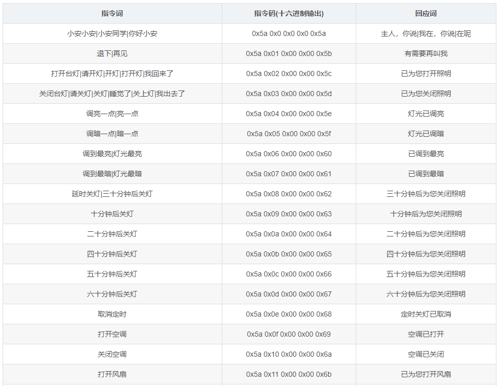
1. 指令词及指令码
模组出厂固件中,默认写入了一些通用的指令及其对应的指令码。
每个指令码的都代表了VC当前所识别的指令,指令中的含义:以 “0x5a 0x00 0x00 0x00 0x5a” 为例
· 起始位:为固定值:0x5a
· 指令序号:代表唯一的指令:0x00 为唤醒词的序号
· 保留位1:固定值为:0x00
· 保留位2:固定值为:0x00
· 校验位:前四位的异或值,
0x5aXOR0x00XOR0x00XOR0x00=0x5a
开发板出厂固件的指令词和模组的一样,只是加入了LED控制功能及按键唤醒功能:
出厂固件已经具备了很不错的指令,单片机可以根据对应的指令码做相应的处理。指令码最重要的一个字节就是校验位,在C语言中可以这么做:
//假如判断唤醒:0x5a 0x00 0x00 0x00 0x5achar start_bit=0x5a;char cmd_num_bit=0x00;char temp_num1_bit=0x00;char temp_num2_bit=0x00;//计算校验位char check_bit=start_bit^cmd_mun_bit^temp_num1_bit^temp_num2_bit
微信改版,容易错过最新资讯和福利?
快将“安信可科技”设为星标⭐
可以第一时间接收小安的推送!
▼

Ai-M61/M62系列模组支持CAN接口了?
星闪网卡:Wi-Fi6+SLE+BLE,三模合一Linux网卡
安信可更多产品信息可进入以下链接查阅:
●开发资料:https://docs.ai-thinker.com/
●官方教程:https://blog.csdn.net/Boantong_
●安信可官网:www.ai-thinker.com
●安信可社区:https://bbs.ai-thinker.com
●业务咨询请联系:18022036575


