【热点】
25亿卖了“问界”,又推出“尊界”?揭秘华为商标策略!
2024/7/23 聚匠知识产权
前段时间华为将“问界”商标以25亿元转让给赛力斯后,又首次公开“尊界”这一品牌,引起了业界的广泛关注。 目前华为公司“界”字相关商标申请数量已达上百枚。
那么华为是如何进行“界”字商标布局的,又是为什么申请这么多商标呢?
华为“四界”商标布局
7月15日晚间,华为智能汽车解决方案 BU 董事长余承东先生在和董宇辉的直播中透露,鸿蒙智行旗下第四界的名字为“尊界”。余承东5月时曾透露,“尊界”将对标迈巴赫、劳斯莱斯等超豪华品牌,定位超高端,预计售价将在百万元级别。至此,鸿蒙智行的四界集结完毕,分别是:
华为 & 赛力斯 = 问界
华为 & 奇瑞 = 智界
华为 & 北汽 = 享界
华为 & 江淮 = 尊界
我国的商标注册制度遵循“申请在先”原则,所谓兵马未动粮草先行,商标注册相当于企业的“粮草”,是企业发展的前期保障。良好的商标布局不仅能够辅助企业的发展,还能为企业带来增值。
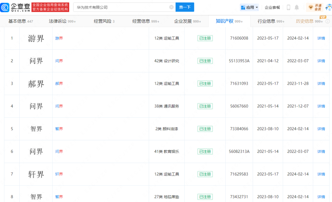
“问界”商标
公开信息显示,华为技术有限公司名下有21件“问界”相关商标,其中18件已注册商标,3件申请中。
华为从2021年2月4日开始申请“问界”商标,覆盖了从车辆本身到相关配件和服务的多个类别。流程信息显示这些商标均是通过转让方式获得,最早的转让公告日期为2023年6月6日。
从申请时间来看,“问界”商标的申请早于品牌发布。
“智界”商标
公开信息显示,华为技术有限公司名下有40件“智界”相关商标,其中20件已注册, 20件正在申请中:
在关于“智界”商标的梳理过程中,相比较“问界”商标“智界”商标的类别选择保护更加全面。
“享界”商标
公开信息显示,华为技术有限公司名下有27件“享界”相关商标,相关状态流程信息显示目前均处于申请中:
“享界”商标最早的申请日期为2023年12月22日,目前尚未公开具体审查结果。
“尊界”商标
公开信息显示,华为技术有限公司已于去年11月和今年1月申请4枚“尊界”商标,国际分类为建筑修理、科学仪器、运输工具、广告销售。
“尊界”商标最早申请日期为2023年11月23日,相关公开信息是在2024年7月15日 “与辉同行”直播中透漏出来的。
从申请时间上来看,“四界”商标的申请均早于品牌发布。
“界”字商标布局上百枚
值得一提的是,华为公司除申请上述四界商标外,还申请了数十种“界”字相关商标,包括“御界”“仙界”“道界”“江界”“君界”“极界”“幻界”“傲界”“天界”“勇界”“拓界”“疆界”“合界”“蔚界”等,今年6月,该公司还刚刚申请了“世界”商标。
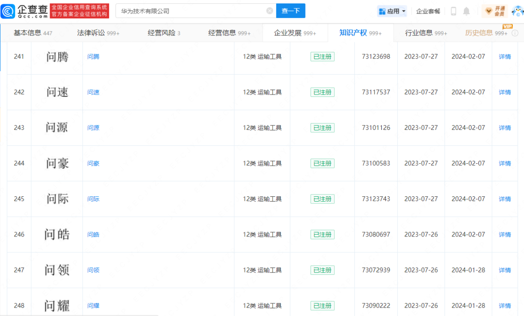
目前,华为公司界字相关商标申请数量已达100多枚,国际分类包括运输工具、网站服务、科学仪器等多个类别,其中数十枚商标已成功注册。要说华为四界,目前问界知名度最高,华为对于问界的付出颇大,不仅注册大量“问界”商标,还申请了大量“问”字相关商标,涉及“问腾”“问诉”“问源”“问豪”“问际”“问世”“问苍”等等。
为什么注册这么多商标?
据统计,华为公司注册商标近两万件,类别涵盖了45个商标类别。华为为什么要注册这么多商标?
我国的商标注册制度遵循“申请在先”原则,所谓兵马未动粮草先行,商标注册相当于企业的“粮草”,是企业发展的前期保障。良好的商标布局不仅能够辅助企业的发展,还能为企业带来增值,至少不会成为企业发展的障碍。
01 品牌全类别保护
对于重要的名称和标志,建议全类别注册保护。商标保护采取的是一标一类,如果不进行全类别注册,很可能在其他服务类别出现同名或者近似的情况。
对于华为公司而言,华为文字商标,拼音商标、花瓣图形商标等都是重要的标志,不仅需要进行全类别保护,如果发生改动,也需要重新进行全类别的商标注册,确保商标保护万无一失。
02 防御性注册
防范他人在同类别商品(或服务)上申请类似商标,在同行业、同类别内注册与原商标近音、同音或字形近似的商标。企业通过注册防御商标,可以降低品牌被山寨的风险,减少商标维权成本,防止其他企业恶意竞争等。
03 商标提早布局
商标是消费者识别一个企业的商品和服务的标识,企业应积极进行商标布局,一般分为三种:一是目前需要用到的商标,二是将来可能用到的商标,三就是防御保护所用的商标。商标注册遵循在先原则,有可能你多犹豫一秒,你想要的商标就与你无缘了,所以商标注册申请一定要趁早,有新的战略或产品业务拓展时,一定要把商标注册提上日程。
华为的“界”字商标布局体现了其在知识产权保护方面的前瞻性策略,商标的申请和布局,是华为在激烈的市场竞争中保持领先的关键因素之一。在知识产权愈加受到重视的将来,商标是企业市场竞争的“利器”,没有商标将寸步难行!
各位老板一定要趁早做好商标布局,助力企业长远发展!如果您有任何关于知识产权方面的问题或需求,欢迎随时联系我们,聚匠知识产权将竭诚为您服务。
编辑:知产小匠
聚匠
。
往期推荐
· 【高企】企业抓紧!今年最后一批高企!速看申报要点全攻略!
· 【热点】7月最新修订!一文了解PCT专利申请流程及好处!
· 【专精特新】专精特新如何申报?2024最新变化必须知道!
· 【热点】门槛提高!科创板上市,企业必须满足的专利“硬指标”!
提前做好政策申报
提升品牌价值 享受政策红利
点此即刻咨询

