本案专利看文末,卖家名单看朋友圈。
这几天真是闹得沸沸扬扬,一款水槽防水垫专利侵权快炸锅了!
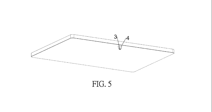
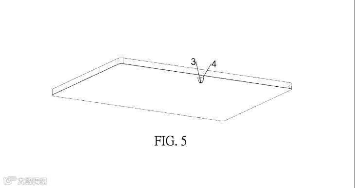
防水垫是一种包括垫本体和防水围栏的创新产品。防水围栏上设有一个排水孔,该排水孔具有上下翻转的功能。当承接漏水时,排水孔呈凸起状态以排水;而在排水时,排水孔向下翻折呈凹陷状态。这种设计使得用户无需将整张防水垫移出清理漏水,只需局部移动防水垫即可实现良好的排水效果。
说句实在话,我觉得这个东西不是大路货嘛?挺常见的东西,怎么就专利了呢??!烂大街的东西也能申请专利? 厉害了。
这个案件就是23-cv-23380,是由深圳恒泽辰科技有限公司注册的一款带发明专利的防水垫,代理律所RUBIO&ASSOCIATES。于今年9月4日起诉各跨境平台上的卖家,大概看一眼,又是不少躺枪的,最近发现国外律所怎么回事,跟疯了一样,不管相似度多少,不管是不是改版私模,全都要起诉,真是想钱想疯了!
觉得不侵权高冻结金额卖家赶快应诉,教训一下这帮家伙,别让他好过! HSP那帮律师最近已经被卖家们应诉搞得焦头烂额了,就要这个feel!








起诉品牌丨美国原告律所丨更多侵权案件进展请关注侵权卫士。
朋友圈查阅 近期热点案件丨实时进展丨卖家名单


