
马来西亚海事执法机构(MMEA)报道称,接到“MV KMTC Shenzen”号集装箱船起火求救信号后,迅速部署一艘雪兰莪MMEA船、两艘西港的拖船和一艘北港的拖船参与救援。MMEA在周日(8月13日)的一份声明中表示:“火灾发生在船上的货物区域。作为初步行动的一部分,两艘拖船参与灭火控制火势。”





船舶。涉及ANL、CMA CGM、CNC、SITC等船公司共舱。
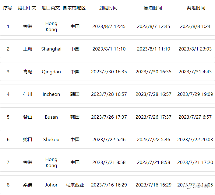
目前船只的状况尚不清楚。根据船舶AIS截止14日定位显示,该船仍处于锚泊状态。有货物配载该轮的货代货主朋友注意!及时关注船公司消息,了解货物受损及船期延误情况。

船舶信息:
KMTC SHENZHEN (IMO: 9626417) is a Container Ship registered and sailing under the flag of Korea. Her gross tonnage is 28827 and deadweight is 39829. KMTC SHENZHEN was built in 2013. KMTC SHENZHEN length overall (LOA) is 222.97 m, beam is 30 m. Her container capacity is 2778 TEU. The ship is operated by KOREA MARINE TRANSPORT CO LTD.
文章来源“海运网”
扫码关注我们

